专利数据库
统计分析
产业报告
专利数据监控
产业人才
行业动态
产业政策法规
维权援助
个人中心
详情
文本
图像
标题
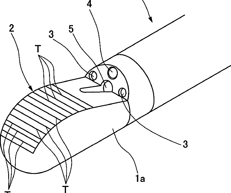
Electronic scan type ultrasound diagnostic instrument
授权日
1900-01-01
公开(公告)号
US20050165314A1
申请日
2005-01-25
公开(公告)日
2005-07-28
当前申请(专利权)人
FUJINON CORPORATION
发明人
TANAKA, TOSHIZUMI
简单同族
DE102005003823A1 | DE102005003823B4 | US20050165314A1 | US7828736
简单同族成员数量
4
简单同族被引用专利总数
19
诉讼案件数
0
法律状态/事件
未缴年费 | 权利转移
抱歉,您的浏览器不支持PDF预览,请点击链接下载PDF文件