专利数据库
统计分析
产业报告
专利数据监控
产业人才
行业动态
产业政策法规
维权援助
个人中心
详情
文本
图像
标题
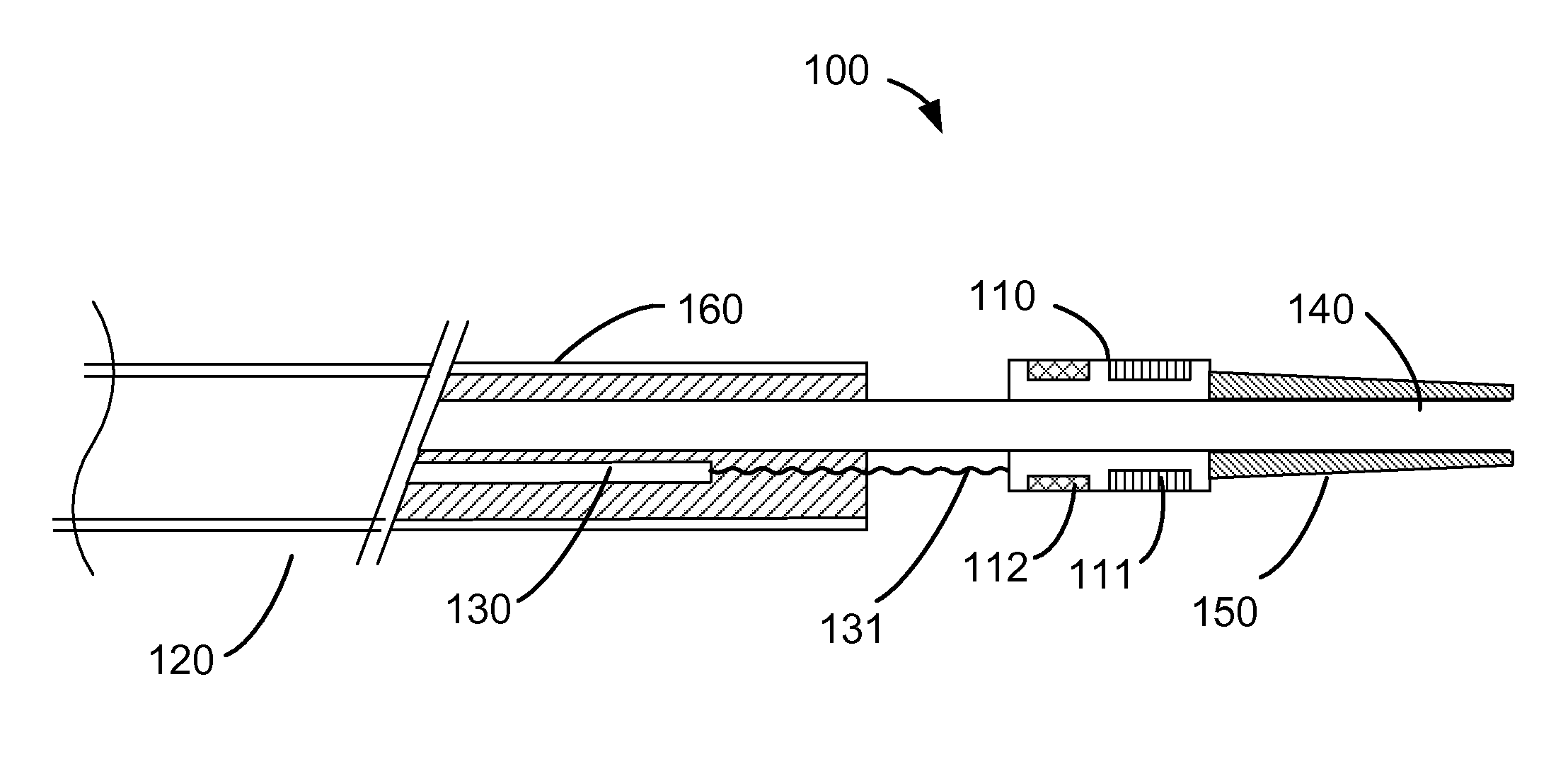
Ultrasound Scanner Built with Capacitive Micromachined Ultrasonic Transducers (CMUTS)
授权日
1900-01-01
公开(公告)号
US20100262014A1
申请日
2008-12-03
公开(公告)日
2010-10-14
当前申请(专利权)人
KOLO TECHNOLOGIES, INC. | ACHIEVA MEDICAL (SHANGHAI) CO., LTD.
发明人
HUANG, YONGLI
简单同族
CN101861127A | CN101868185A | CN101868185B | EP2214560A1 | EP2217151A1 | JP2011505205A | JP2011505206A | JP5497657B2 | US20100262014A1 | US20100280388A1 | US9408588 | WO2009073752A1 | WO2009073753A1
简单同族成员数量
13
简单同族被引用专利总数
115
诉讼案件数
0
法律状态/事件
撤回 | 权利转移
抱歉,您的浏览器不支持PDF预览,请点击链接下载PDF文件