专利数据库
统计分析
产业报告
专利数据监控
产业人才
行业动态
产业政策法规
维权援助
个人中心
详情
文本
图像
标题
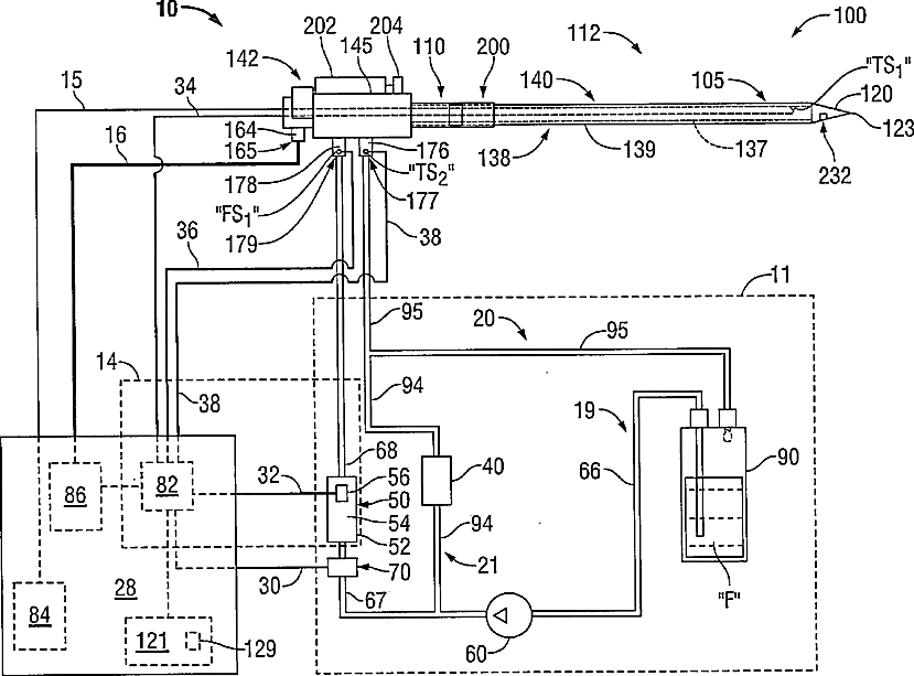
Methods and systems for enhancing ultrasonic visibility of energy-delivery devices within tissue
授权日
1900-01-01
公开(公告)号
US20130345553A1
申请日
2013-03-15
公开(公告)日
2013-12-26
当前申请(专利权)人
COVIDIEN LP
发明人
ARTS, GENE H. | PETERSON, DARION R. | BRANNAN, JOSEPH D. | VANTUNO, JOHN R. | LARSON, ERIC W.
简单同族
AU2013206097A1 | AU2013206097B2 | CN103505289A | CN103505289B | CN203354646U | EP2679188A1 | EP2679188B1 | US20130345553A1 | US20150289845A1 | US20160302865A1 | US9066681 | US9375198 | US9833288
简单同族成员数量
13
简单同族被引用专利总数
24
诉讼案件数
0
法律状态/事件
授权 | 权利转移
抱歉,您的浏览器不支持PDF预览,请点击链接下载PDF文件