专利数据库
统计分析
产业报告
专利数据监控
产业人才
行业动态
产业政策法规
维权援助
个人中心
详情
文本
图像
标题
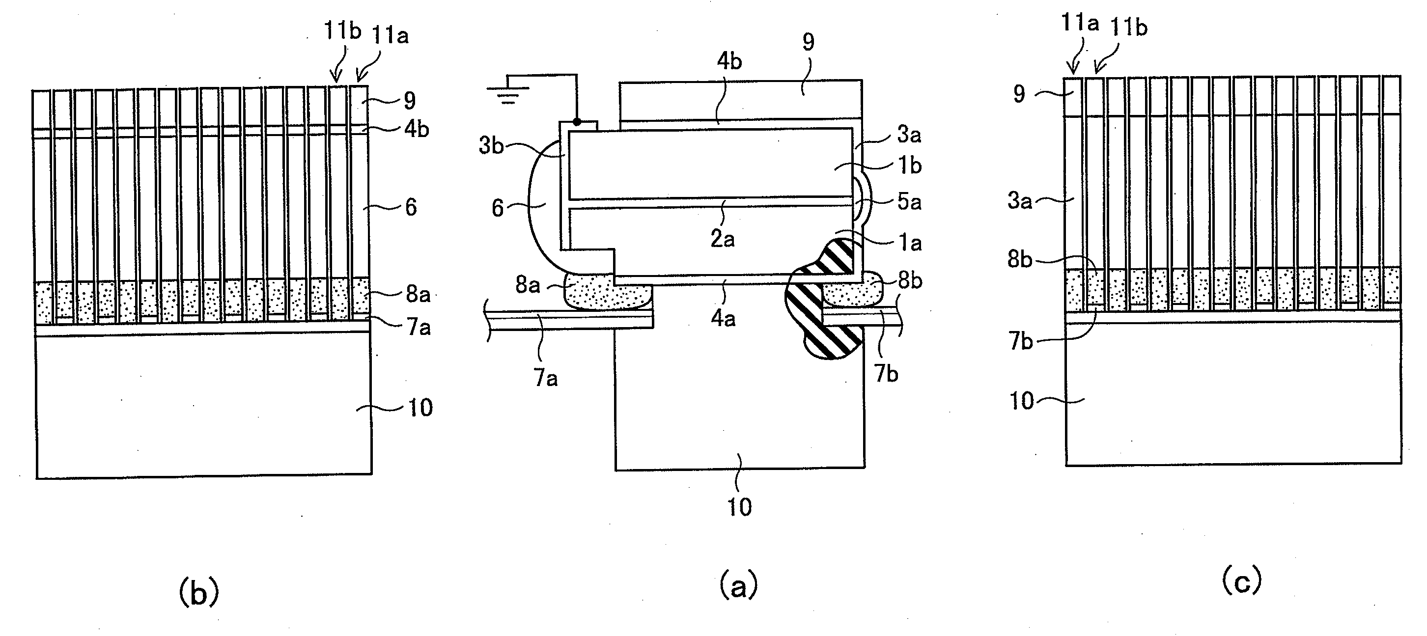
Ultrasonic probe and method of manufacturing the same
授权日
1900-01-01
公开(公告)号
US20090236940A1
申请日
2009-03-11
公开(公告)日
2009-09-24
当前申请(专利权)人
FUJIFILM CORPORATION
发明人
NAKAYAMA, RYUICHI | OSAWA, ATSUSHI
简单同族
JP2009255036A | JP5095593B2 | US20090236940A1 | US7795786
简单同族成员数量
4
简单同族被引用专利总数
20
诉讼案件数
0
法律状态/事件
授权 | 权利转移
抱歉,您的浏览器不支持PDF预览,请点击链接下载PDF文件