专利数据库
统计分析
产业报告
专利数据监控
产业人才
行业动态
产业政策法规
维权援助
个人中心
详情
文本
图像
标题
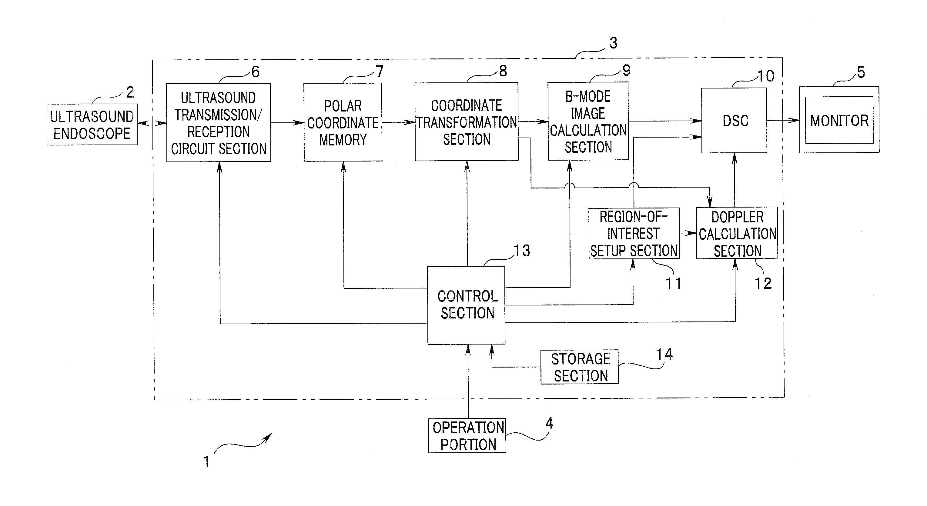
Ultrasound image display apparatus and ultrasound image display method
授权日
1900-01-01
公开(公告)号
US20110160588A1
申请日
2011-03-08
公开(公告)日
2011-06-30
当前申请(专利权)人
OLYMPUS MEDICAL SYSTEMS CORP.
发明人
ICHIKAWA, JUNICHI
简单同族
CN102149332A | CN102149332B | EP2322100A1 | EP2322100A4 | JP2010063549A | JP5269528B2 | US20110160588A1 | WO2010029888A1
简单同族成员数量
8
简单同族被引用专利总数
18
诉讼案件数
0
法律状态/事件
撤回 | 权利转移
抱歉,您的浏览器不支持PDF预览,请点击链接下载PDF文件