专利数据库
统计分析
产业报告
专利数据监控
产业人才
行业动态
产业政策法规
维权援助
个人中心
详情
文本
图像
标题
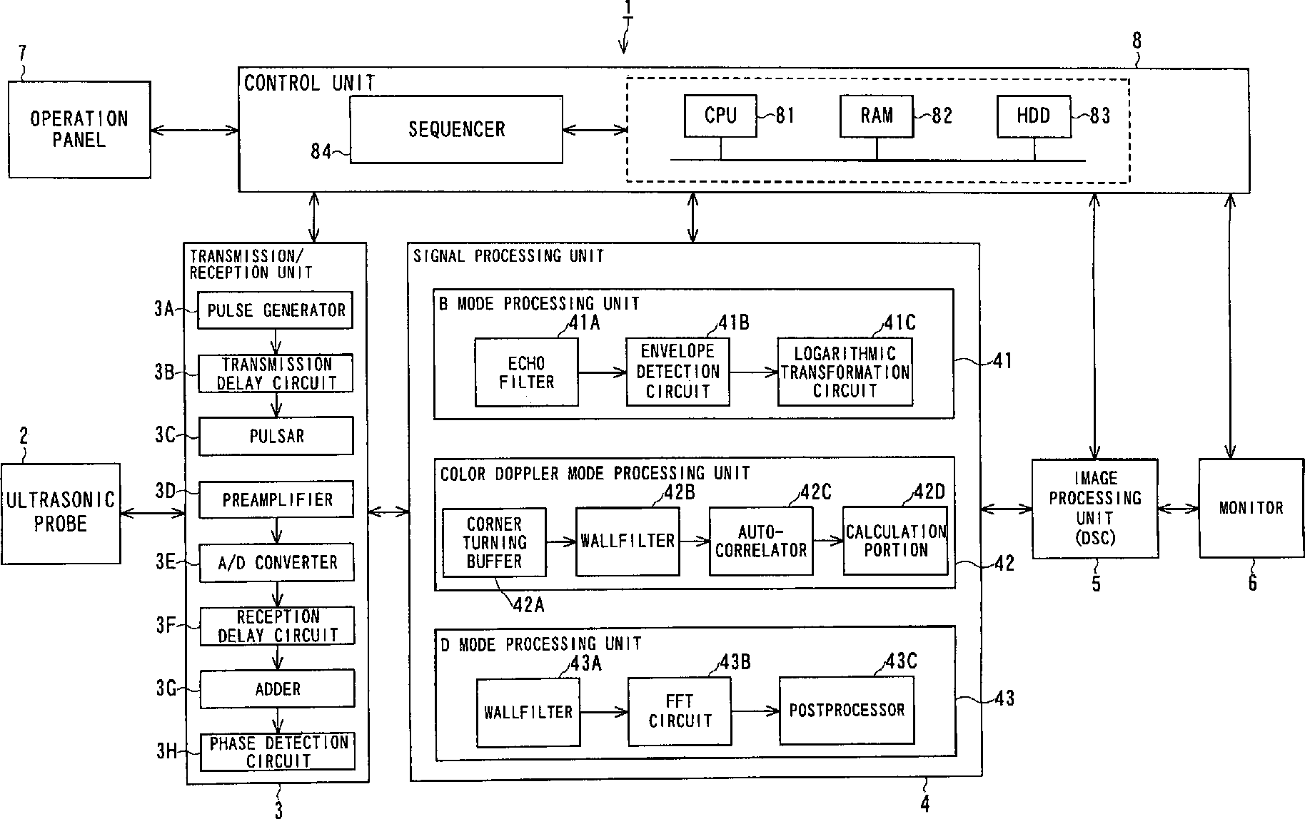
Ultrasonic diagnostic apparatus and ultrasonic diagnostic method
授权日
2012-04-17
公开(公告)号
US8157734
申请日
2005-10-20
公开(公告)日
2012-04-17
当前申请(专利权)人
TOSHIBA MEDICAL SYSTEMS CORPORATION
发明人
NAKATA, KAZUHITO
简单同族
CN100448406C | CN1762307A | JP2006116149A | JP4653454B2 | US20060100515A1 | US8157734
简单同族成员数量
6
简单同族被引用专利总数
48
诉讼案件数
0
法律状态/事件
未缴年费 | 权利转移
抱歉,您的浏览器不支持PDF预览,请点击链接下载PDF文件