专利数据库
统计分析
产业报告
专利数据监控
产业人才
行业动态
产业政策法规
维权援助
个人中心
详情
文本
图像
标题
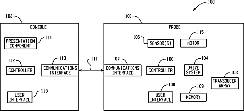
Ultrasound probe
授权日
1900-01-01
公开(公告)号
US20120022379A1
申请日
2009-06-24
公开(公告)日
2012-01-26
当前申请(专利权)人
BK MEDICAL HOLDING COMPANY, INC.
发明人
GUBBINI, ALESSANDRO | DRESCHEL, WILLIAM R.
简单同族
CN102368955A | CN102368955B | EP2413802A1 | JP2012522570A | JP5758375B2 | US20120022379A1 | WO2010114573A1
简单同族成员数量
7
简单同族被引用专利总数
37
诉讼案件数
0
法律状态/事件
实质审查 | 质押 | 权利转移
抱歉,您的浏览器不支持PDF预览,请点击链接下载PDF文件