专利数据库
统计分析
产业报告
专利数据监控
产业人才
行业动态
产业政策法规
维权援助
个人中心
详情
文本
图像
标题
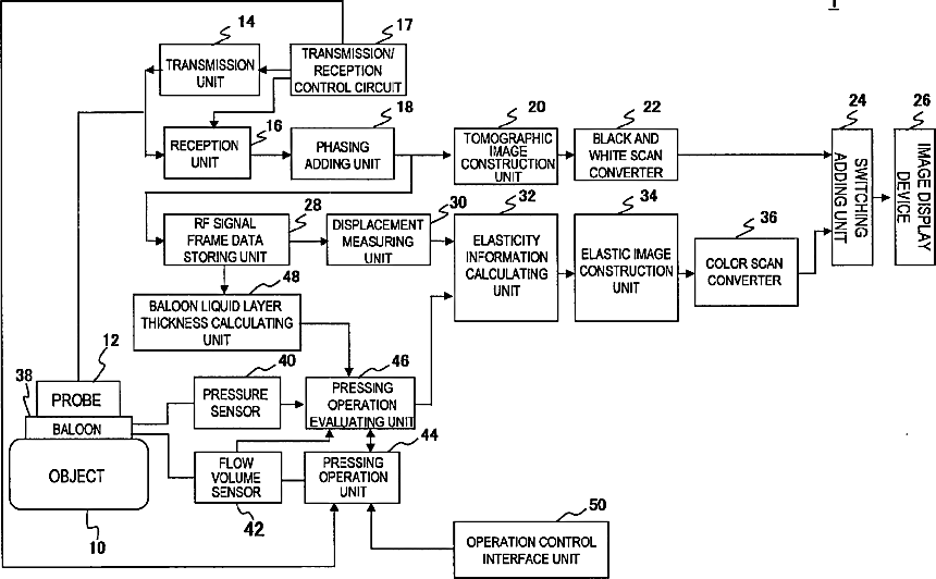
Pressing device, and ultrasonic probe and ultrasonic diagnostic apparatus using the pressing device
授权日
1900-01-01
公开(公告)号
US20100113937A1
申请日
2007-07-31
公开(公告)日
2010-05-06
当前申请(专利权)人
HITACHI, LTD.
发明人
MATSUMURA, TAKESHI | MITAKE, TSUYOSHI
简单同族
CN101489490A | CN101489490B | EP2050398A1 | EP2050398A4 | EP2050398B1 | JP5237808B2 | JPWO2008016022A1 | US20100113937A1 | US8747323 | WO2008016022A1
简单同族成员数量
10
简单同族被引用专利总数
21
诉讼案件数
0
法律状态/事件
授权 | 权利转移
抱歉,您的浏览器不支持PDF预览,请点击链接下载PDF文件