专利数据库
统计分析
产业报告
专利数据监控
产业人才
行业动态
产业政策法规
维权援助
个人中心
详情
文本
图像
标题
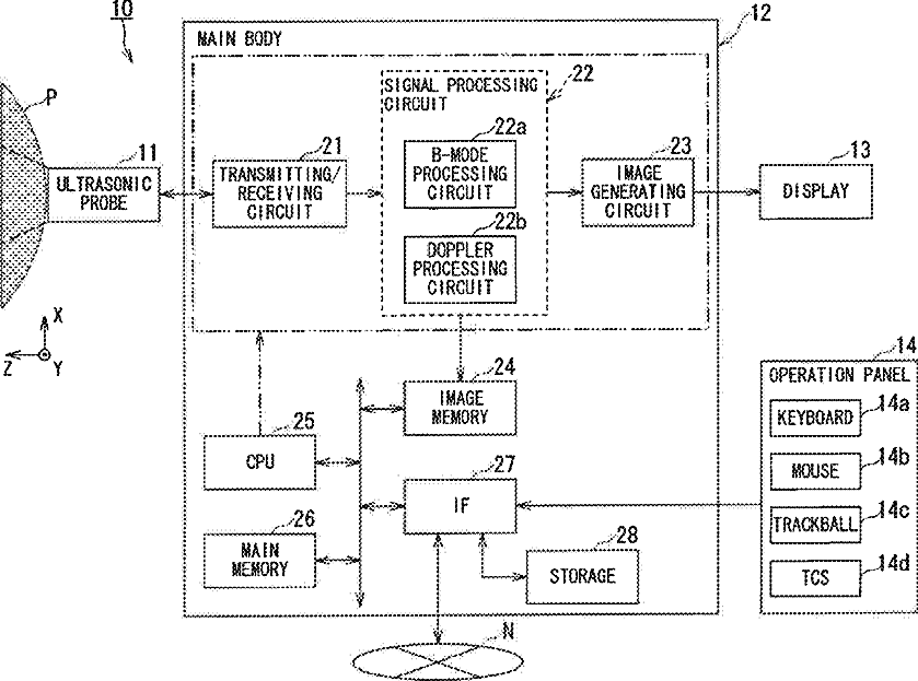
Ultrasonic diagnostic apparatus and controlling method of ultrasonic diagnostic apparatus
授权日
1900-01-01
公开(公告)号
US20100198073A1
申请日
2010-02-01
公开(公告)日
2010-08-05
当前申请(专利权)人
TOSHIBA MEDICAL SYSTEMS CORPORATION
发明人
NISHIHARA, KURAMITSU | NAKAYA, SHIGEMITSU | KAKEE, AKIHIRO | ICHIOKA, KENICHI | SHIBATA, CHIHIRO | TAKIMOTO, MASAO | SUMI, ATSUSHI | KATAGUCHI, MUNEKI | SASAKI, TAKUYA | ABE, YOSHIHITO | KAMEWADA, YASUSHI
简单同族
CN101797165A | CN101797165B | JP2010178905A | JP5461845B2 | US20100198073A1 | US8894579
简单同族成员数量
6
简单同族被引用专利总数
21
诉讼案件数
0
法律状态/事件
授权 | 权利转移
抱歉,您的浏览器不支持PDF预览,请点击链接下载PDF文件