专利数据库
统计分析
产业报告
专利数据监控
产业人才
行业动态
产业政策法规
维权援助
个人中心
详情
文本
图像
标题
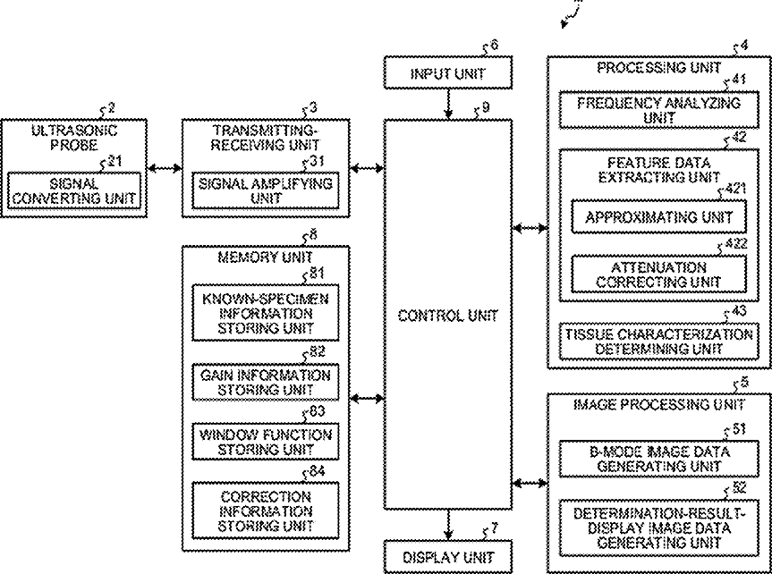
Ultrasonic diagnosis apparatus, operation method of the same, and computer readable recording medium
授权日
1900-01-01
公开(公告)号
US20120310087A1
申请日
2012-05-11
公开(公告)日
2012-12-06
当前申请(专利权)人
OLYMPUS MEDICAL SYSTEMS CORP.
发明人
MIYAKI, HIRONAKA | KAMBARA, TADAAKI | WADA, YASUHIRO
简单同族
CN102802536A | CN102802536B | EP2548512A1 | EP2548512A4 | EP2548512B1 | JP5054254B2 | JPWO2012063976A1 | US20120310087A1 | WO2012063976A1
简单同族成员数量
9
简单同族被引用专利总数
47
诉讼案件数
0
法律状态/事件
撤回 | 权利转移
抱歉,您的浏览器不支持PDF预览,请点击链接下载PDF文件