专利数据库
统计分析
产业报告
专利数据监控
产业人才
行业动态
产业政策法规
维权援助
个人中心
详情
文本
图像
标题
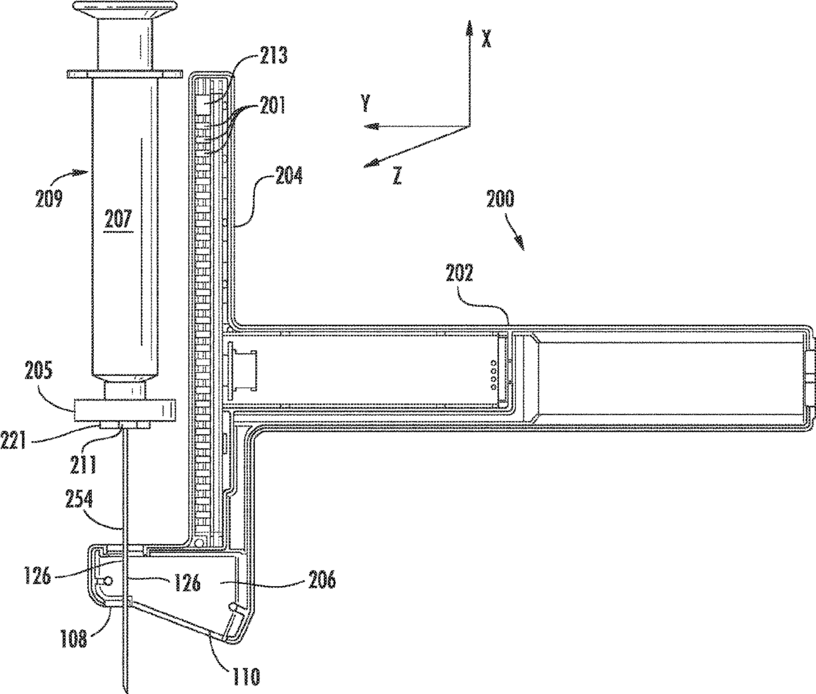
Ultrasound Guidance System Including Tagged Probe Assembly
授权日
1900-01-01
公开(公告)号
US20170007200A1
申请日
2016-09-20
公开(公告)日
2017-01-12
当前申请(专利权)人
SOMA RESEARCH, LLC
发明人
HAGY, M. DEXTER | RIDLEY, STEPHEN | LABREE, MICHAEL R. | BUSSE, LAWRENCE
简单同族
EP2967494A1 | JP2016512137A | US20140275990A1 | US20170007200A1 | WO2014143650A1
简单同族成员数量
5
简单同族被引用专利总数
35
诉讼案件数
0
法律状态/事件
撤回 | 权利转移
抱歉,您的浏览器不支持PDF预览,请点击链接下载PDF文件