专利数据库
统计分析
产业报告
专利数据监控
产业人才
行业动态
产业政策法规
维权援助
个人中心
详情
文本
图像
标题
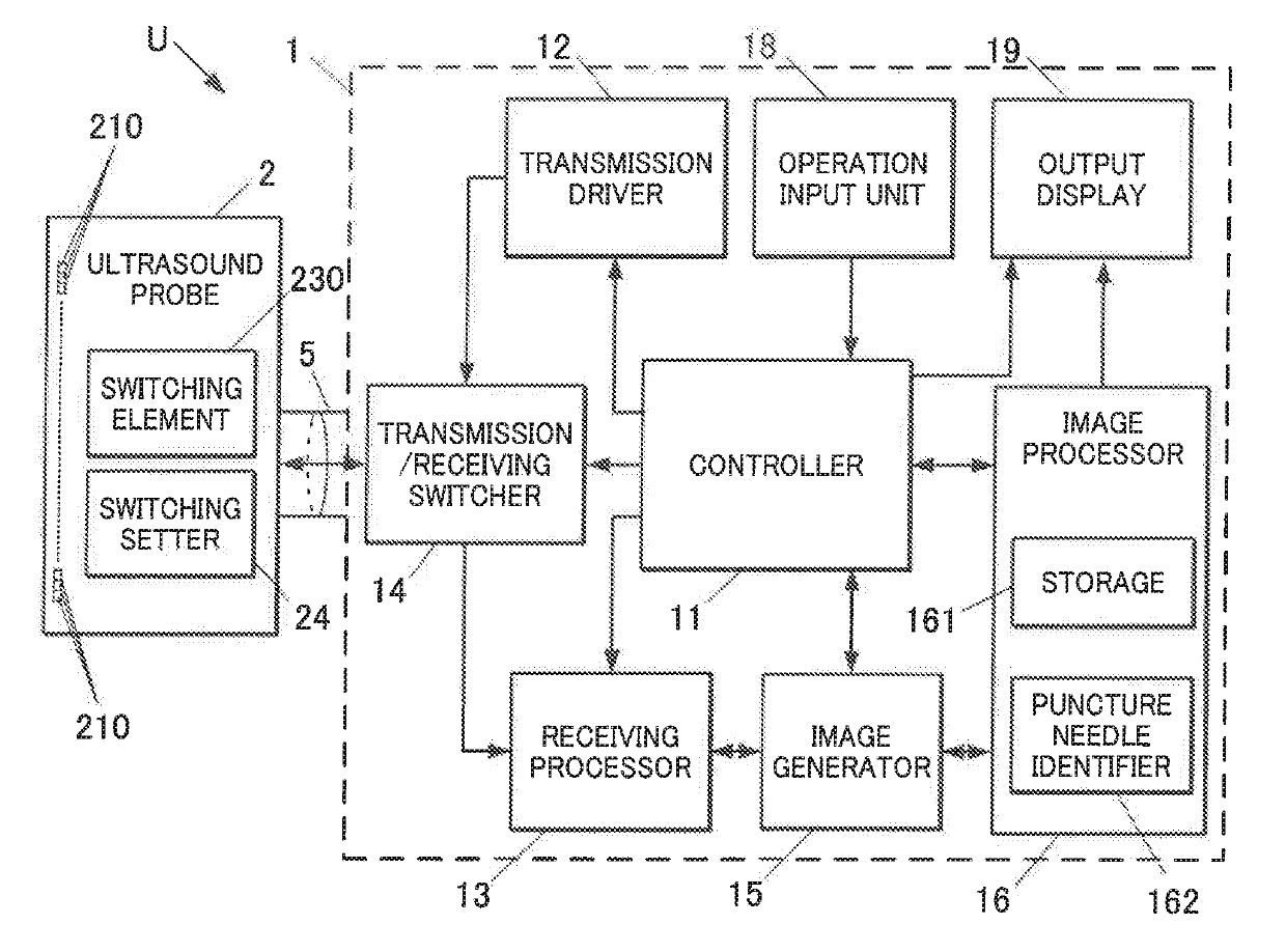
Ultrasound diagnostic apparatus and puncture needle shift angle calculation method
授权日
1900-01-01
公开(公告)号
US20190307515A1
申请日
2019-03-13
公开(公告)日
2019-10-10
当前申请(专利权)人
KONICA MINOLTA, INC.
发明人
NAITO, TATSUYA | NISHIGAKI, MORIO | SATO, TOSHIHARU | MIZUNO, TAKASHI
简单同族
JP2019180810A | US20190307515A1
简单同族成员数量
2
简单同族被引用专利总数
0
诉讼案件数
0
法律状态/事件
公开 | 权利转移
抱歉,您的浏览器不支持PDF预览,请点击链接下载PDF文件