专利数据库
统计分析
产业报告
专利数据监控
产业人才
行业动态
产业政策法规
维权援助
个人中心
详情
文本
图像
标题
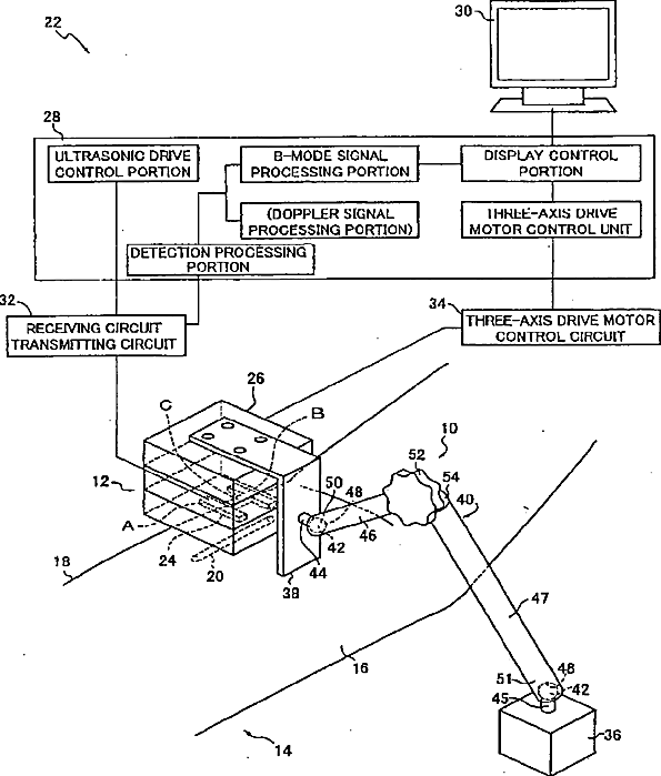
Blood vessel ultrasonic image measuring method
授权日
1900-01-01
公开(公告)号
US20100210946A1
申请日
2008-09-16
公开(公告)日
2010-08-19
当前申请(专利权)人
UNEX CORPORATION
发明人
HARADA, CHIKAO | MASUDA, HIROSHI | SUZUKI, HIDENORI
简单同族
CN101820820A | CN101820820B | EP2198784A1 | EP2198784A4 | EP2198784B1 | HK1147925A | HK1147925A1 | JP2009089911A | JP2009089911A5 | JP5014051B2 | KR101553958B1 | KR1020100080533A | US20100210946A1 | US9089306 | WO2009047966A1
简单同族成员数量
15
简单同族被引用专利总数
71
诉讼案件数
0
法律状态/事件
授权 | 权利转移
抱歉,您的浏览器不支持PDF预览,请点击链接下载PDF文件