专利数据库
统计分析
产业报告
专利数据监控
产业人才
行业动态
产业政策法规
维权援助
个人中心
详情
文本
图像
标题
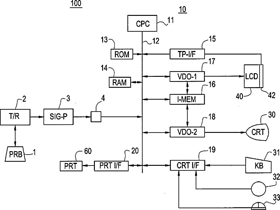
Ultrasonic diagnostic apparatus
授权日
1900-01-01
公开(公告)号
US20030105400A1
申请日
2002-11-20
公开(公告)日
2003-06-05
当前申请(专利权)人
GE MEDICAL SYSTEMS GLOBAL TECHNOLOGY COMPANY, LLC
发明人
YAWATA, TSUTOMU | SATO, NAOTO
简单同族
CN1223312C | CN1421180A | JP2003169798A | JP3752446B2 | KR100708505B1 | KR1020030044847A | US20030105400A1 | US6605040
简单同族成员数量
8
简单同族被引用专利总数
60
诉讼案件数
0
法律状态/事件
未缴年费 | 权利转移
抱歉,您的浏览器不支持PDF预览,请点击链接下载PDF文件