专利数据库
统计分析
产业报告
专利数据监控
产业人才
行业动态
产业政策法规
维权援助
个人中心
详情
文本
图像
标题
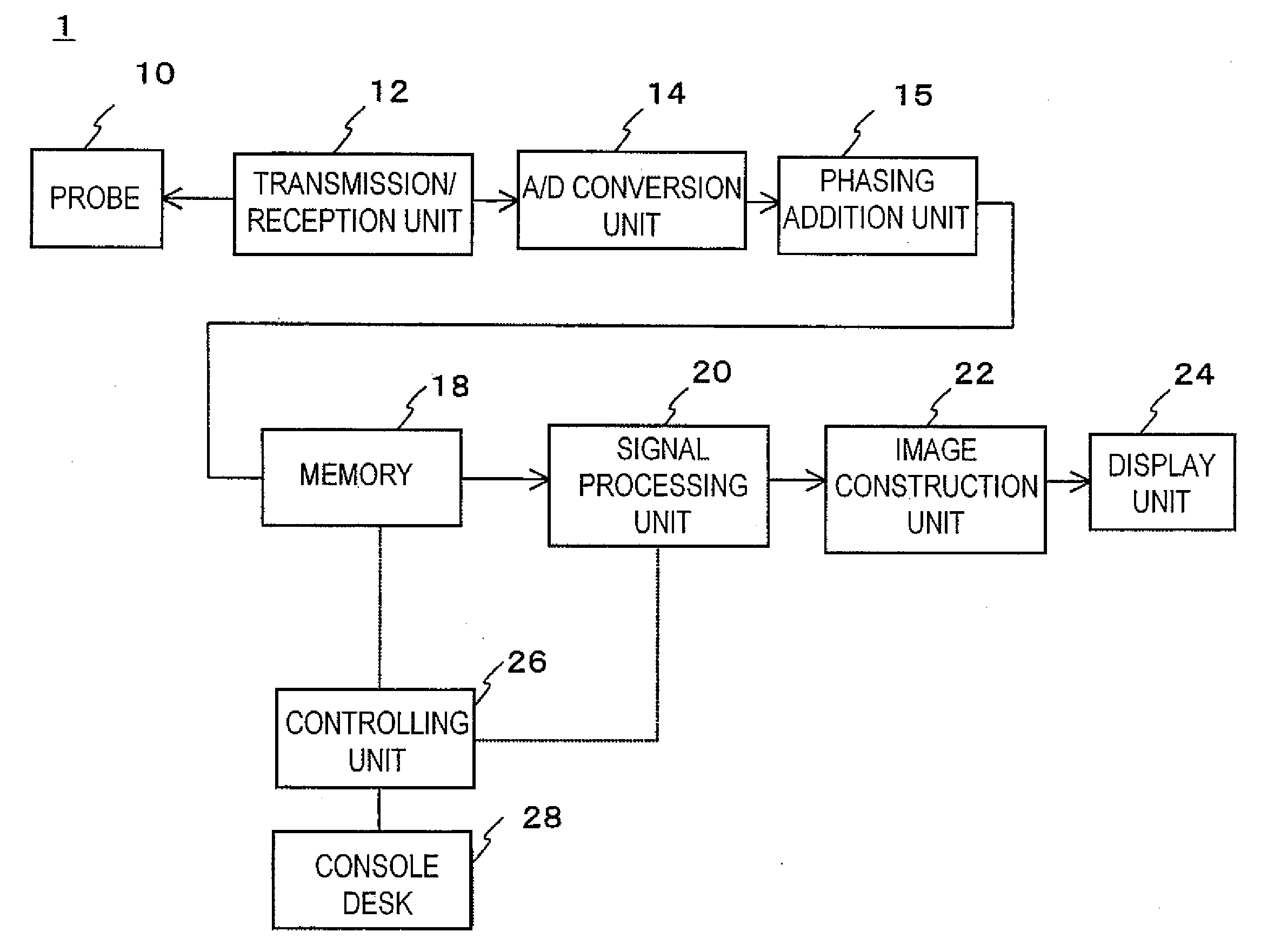
Ultrasonic Diagnostic Apparatus
授权日
1900-01-01
公开(公告)号
US20090131795A1
申请日
2009-01-22
公开(公告)日
2009-05-21
当前申请(专利权)人
SASAKI AKIRA
发明人
SASAKI, AKIRA
简单同族
CN100475150C | CN1798523A | EP1634534A1 | EP1634534A4 | JPWO2004107981A1 | JPWO2004107981A5 | US20060173308A1 | US20090131795A1 | US7481768 | WO2004107981A1
简单同族成员数量
10
简单同族被引用专利总数
32
诉讼案件数
0
法律状态/事件
撤回
抱歉,您的浏览器不支持PDF预览,请点击链接下载PDF文件