专利数据库
统计分析
产业报告
专利数据监控
产业人才
行业动态
产业政策法规
维权援助
个人中心
详情
文本
图像
标题
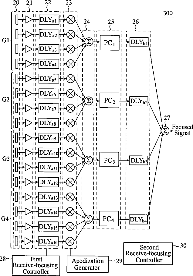
Ultrasound imaging system using multi-stage pulse compression
授权日
1900-01-01
公开(公告)号
US20030045794A1
申请日
2002-09-05
公开(公告)日
2003-03-06
当前申请(专利权)人
MEDISON CO., LTD.
发明人
BAE, MOO HO
简单同族
JP2003079623A | JP4227783B2 | KR100406099B1 | KR1020030021287A | US20030045794A1 | US6669640
简单同族成员数量
6
简单同族被引用专利总数
31
诉讼案件数
0
法律状态/事件
授权 | 权利转移
抱歉,您的浏览器不支持PDF预览,请点击链接下载PDF文件