专利数据库
统计分析
产业报告
专利数据监控
产业人才
行业动态
产业政策法规
维权援助
个人中心
详情
文本
图像
标题
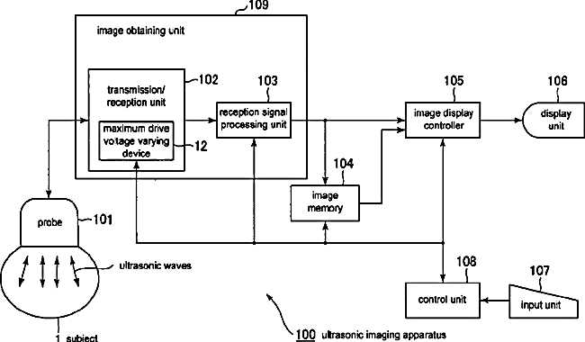
Ultrasonic imaging apparatus
授权日
2012-03-06
公开(公告)号
US8128567
申请日
2008-12-23
公开(公告)日
2012-03-06
当前申请(专利权)人
GE MEDICAL SYSTEMS GLOBAL TECHNOLOGY COMPANY, LLC
发明人
KATO, SEI | SAITO, TAKANORI
简单同族
JP2009153674A | JP5095380B2 | US20090171215A1 | US8128567
简单同族成员数量
4
简单同族被引用专利总数
21
诉讼案件数
0
法律状态/事件
授权 | 权利转移
抱歉,您的浏览器不支持PDF预览,请点击链接下载PDF文件