专利数据库
统计分析
产业报告
专利数据监控
产业人才
行业动态
产业政策法规
维权援助
个人中心
详情
文本
图像
标题
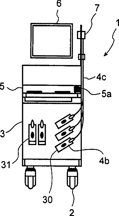
Ultrasound diagnosis apparatus
授权日
1900-01-01
公开(公告)号
US20060036177A1
申请日
2005-07-05
公开(公告)日
2006-02-16
当前申请(专利权)人
TOSHIBA MEDICAL SYSTEMS CORPORATION
发明人
ONODERA, HIDEO
简单同族
CN100563579C | CN1720864A | JP2006026046A | JP4602017B2 | US20060036177A1 | US7566305
简单同族成员数量
6
简单同族被引用专利总数
34
诉讼案件数
0
法律状态/事件
授权 | 权利转移
抱歉,您的浏览器不支持PDF预览,请点击链接下载PDF文件