专利数据库
统计分析
产业报告
专利数据监控
产业人才
行业动态
产业政策法规
维权援助
个人中心
详情
文本
图像
标题
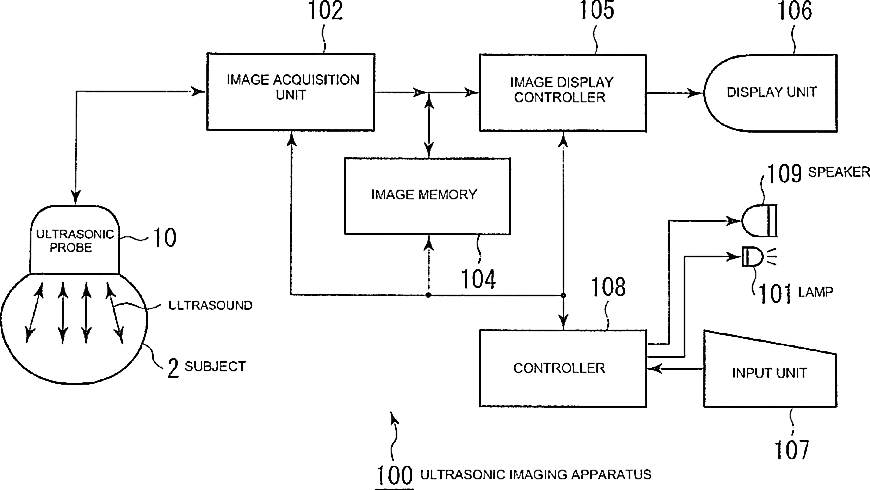
Ultrasonic imaging apparatus and ultrasonic imaging method
授权日
1900-01-01
公开(公告)号
US20090030322A1
申请日
2008-07-24
公开(公告)日
2009-01-29
当前申请(专利权)人
GE MEDICAL SYSTEMS GLOBAL TECHNOLOGY COMPANY, LLC
发明人
FUJIWARA, CHIORI | ABE, YAYOI | MIYAMA, KOJI
简单同族
CN101352355A | JP2009028194A | KR100979591B1 | KR1020090012127A | US20090030322A1
简单同族成员数量
5
简单同族被引用专利总数
25
诉讼案件数
0
法律状态/事件
撤回 | 权利转移
抱歉,您的浏览器不支持PDF预览,请点击链接下载PDF文件