专利数据库
统计分析
产业报告
专利数据监控
产业人才
行业动态
产业政策法规
维权援助
个人中心
详情
文本
图像
标题
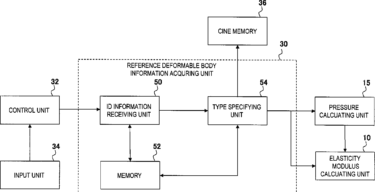
Reference deformable body, ultrasonic diagnostic apparatus, and ultrasonic diagnostic method
授权日
2012-06-12
公开(公告)号
US8197411
申请日
2009-04-14
公开(公告)日
2012-06-12
当前申请(专利权)人
HITACHI, LTD.
发明人
MATSUMURA, TAKESHI
简单同族
CN102014758A | CN102014758B | CN104274213A | CN104274213B | EP2272435A1 | EP2272435A4 | EP2272435B1 | JP2013154217A | JP5394372B2 | JPWO2009131027A1 | JPWO2009131027A5 | US20110040185A1 | US8197411 | WO2009131027A1
简单同族成员数量
14
简单同族被引用专利总数
28
诉讼案件数
0
法律状态/事件
授权 | 权利转移
抱歉,您的浏览器不支持PDF预览,请点击链接下载PDF文件