专利数据库
统计分析
产业报告
专利数据监控
产业人才
行业动态
产业政策法规
维权援助
个人中心
详情
文本
图像
标题
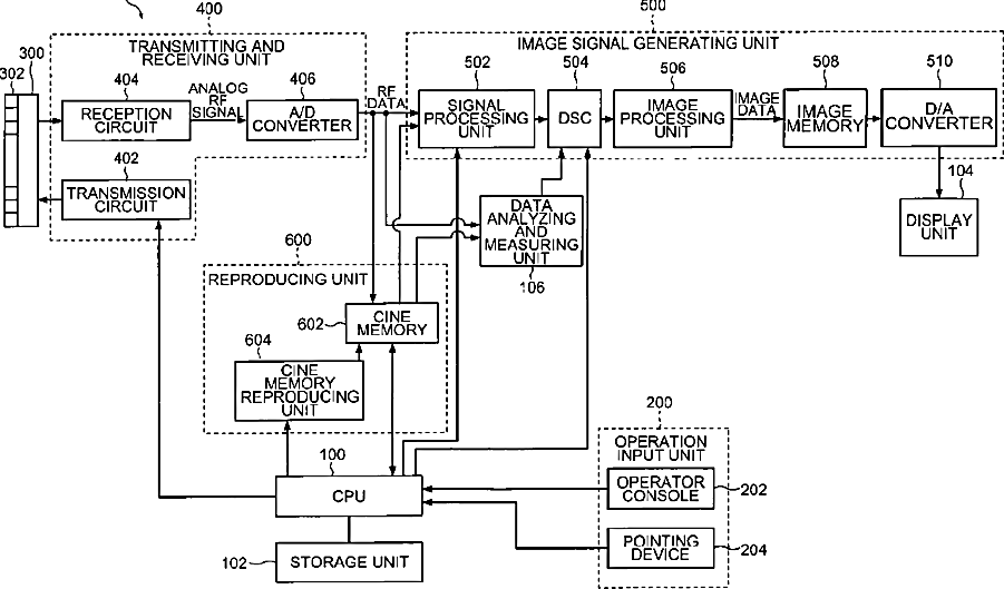
Ultrasound diagnostic device and ultrasound diagnostic method
授权日
1900-01-01
公开(公告)号
US20130116564A1
申请日
2012-12-28
公开(公告)日
2013-05-09
当前申请(专利权)人
FUJIFILM CORPORATION
发明人
KATSUYAMA, KIMITO
简单同族
CN102970937A | CN102970937B | EP2589342A1 | JP5808325B2 | JPWO2012002421A1 | US20130116564A1 | WO2012002421A1
简单同族成员数量
7
简单同族被引用专利总数
19
诉讼案件数
0
法律状态/事件
实质审查 | 权利转移
抱歉,您的浏览器不支持PDF预览,请点击链接下载PDF文件