专利数据库
统计分析
产业报告
专利数据监控
产业人才
行业动态
产业政策法规
维权援助
个人中心
详情
文本
图像
标题
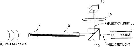
Optical converting type ultrasonic receiving apparatus
授权日
2006-01-10
公开(公告)号
US6984819
申请日
2002-05-08
公开(公告)日
2006-01-10
当前申请(专利权)人
FUJIFILM CORPORATION
发明人
OGAWA, EIJI
简单同族
EP1258714A2 | JP2003169801A | JP3957276B2 | KR100879730B1 | KR1020020087865A | US20020166955A1 | US6984819
简单同族成员数量
7
简单同族被引用专利总数
25
诉讼案件数
0
法律状态/事件
未缴年费 | 权利转移
抱歉,您的浏览器不支持PDF预览,请点击链接下载PDF文件