专利数据库
统计分析
产业报告
专利数据监控
产业人才
行业动态
产业政策法规
维权援助
个人中心
详情
文本
图像
标题
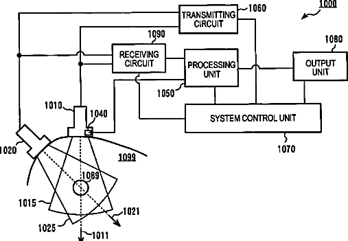
Ultrasonic measurement apparatus
授权日
2014-06-10
公开(公告)号
US8747318
申请日
2009-04-30
公开(公告)日
2014-06-10
当前申请(专利权)人
CANON KABUSHIKI KAISHA
发明人
SHIINA, TSUYOSHI | SOMEDA, YASUHIRO | NAGAE, KENICHI | OIKAWA, KATSUYA
简单同族
EP2113202A1 | EP2113202B1 | JP2009268622A | JP2009268622A5 | JP5294687B2 | US20090275837A1 | US8747318
简单同族成员数量
7
简单同族被引用专利总数
37
诉讼案件数
0
法律状态/事件
授权 | 权利转移
抱歉,您的浏览器不支持PDF预览,请点击链接下载PDF文件