专利数据库
统计分析
产业报告
专利数据监控
产业人才
行业动态
产业政策法规
维权援助
个人中心
详情
文本
图像
标题
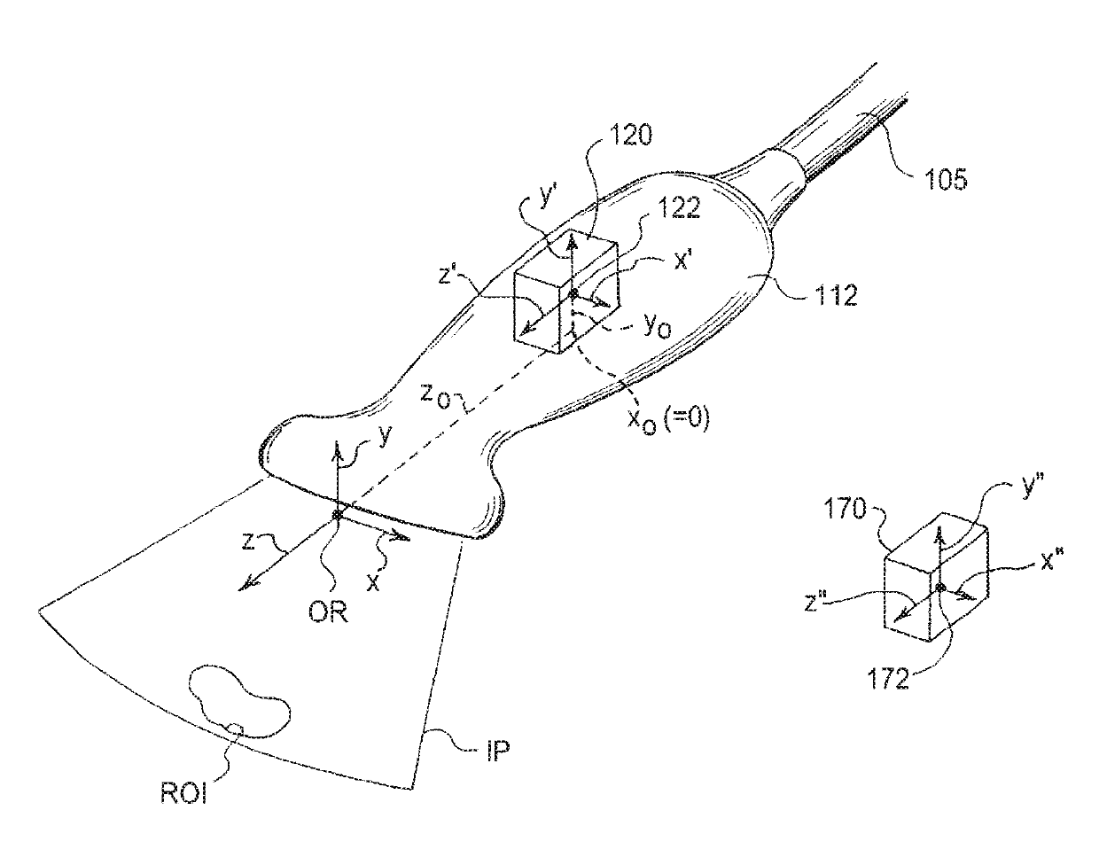
Sensor coordinate calibration in an ultrasound system
授权日
1900-01-01
公开(公告)号
US20190216435A1
申请日
2019-03-22
公开(公告)日
2019-07-18
当前申请(专利权)人
SAMSUNG MEDISON CO., LTD.
发明人
HYUN, DONG GYU | RA, JONG BEOM | LEE, DUGHOON | NAM, WOO HYUN
简单同族
EP2279695A1 | JP2011031042A | JP2011031042A5 | JP5606203B2 | KR101121286B1 | KR1020110013036A | US10271822 | US10561403 | US20110026796A1 | US20150289855A1 | US20160007974A1 | US20170011500A1 | US20180220996A1 | US20190216435A1 | US9082178 | US9468422 | US9782151 | US9955951
简单同族成员数量
18
简单同族被引用专利总数
44
诉讼案件数
0
法律状态/事件
授权
抱歉,您的浏览器不支持PDF预览,请点击链接下载PDF文件