专利数据库
统计分析
产业报告
专利数据监控
产业人才
行业动态
产业政策法规
维权援助
个人中心
详情
文本
图像
标题
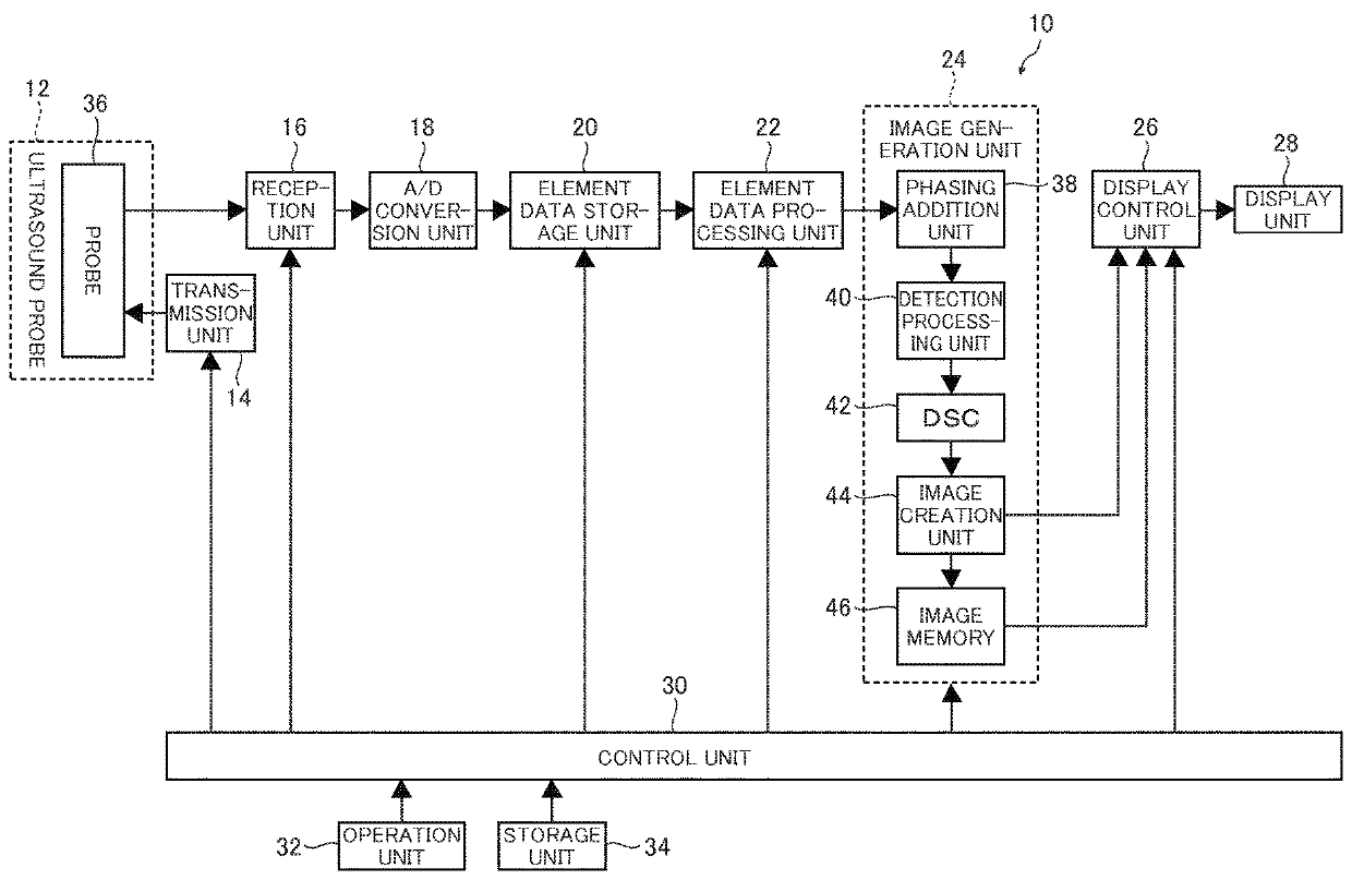
Ultrasonic inspection apparatus
授权日
2020-03-17
公开(公告)号
US10588598
申请日
2015-01-12
公开(公告)日
2020-03-17
当前申请(专利权)人
FUJIFILM CORPORATION
发明人
YAMAMOTO, HIROAKI
简单同族
CN104487002A | CN104487002B | JP2014030715A | JP5905856B2 | US10588598 | US20150141831A1 | WO2014010683A1
简单同族成员数量
7
简单同族被引用专利总数
26
诉讼案件数
0
法律状态/事件
授权 | 权利转移
抱歉,您的浏览器不支持PDF预览,请点击链接下载PDF文件