专利数据库
统计分析
产业报告
专利数据监控
产业人才
行业动态
产业政策法规
维权援助
个人中心
详情
文本
图像
标题
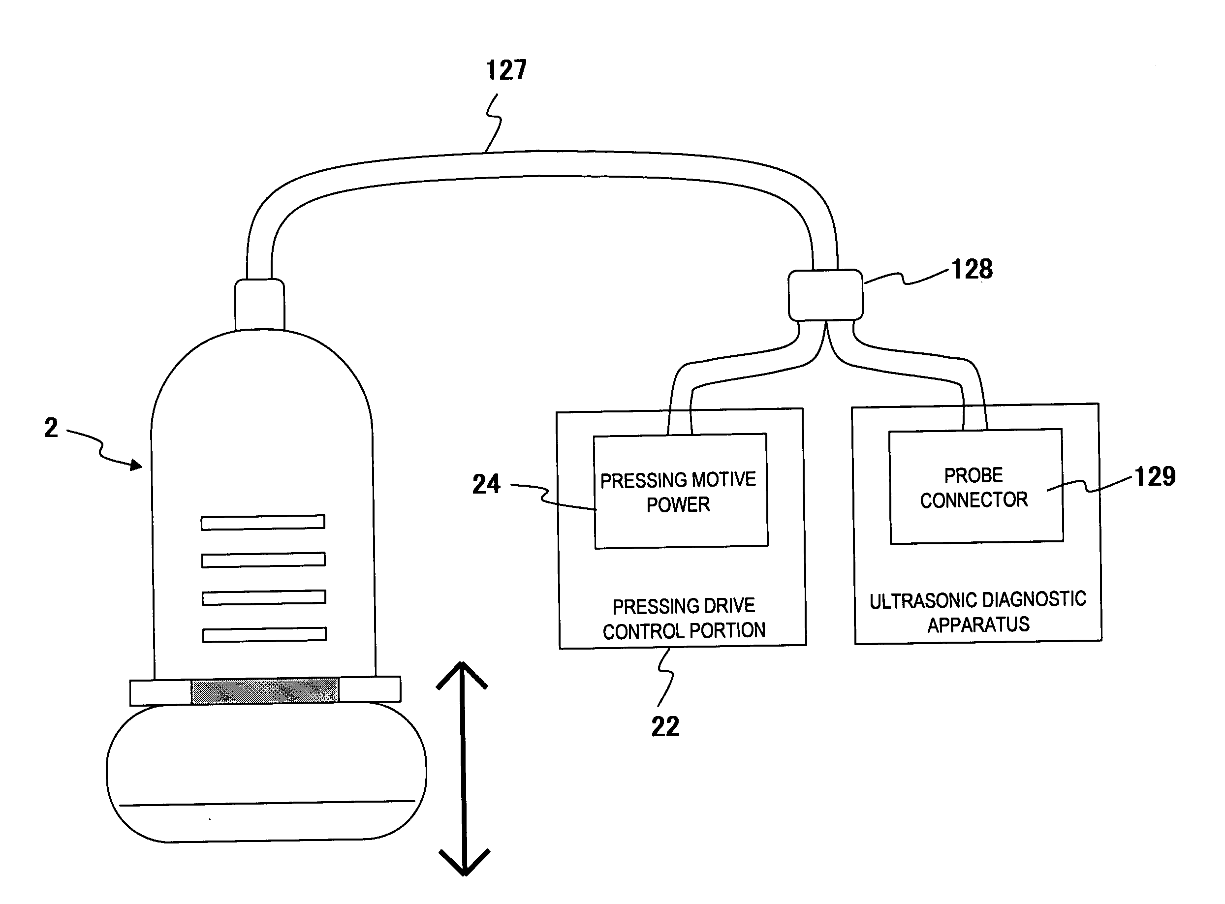
Automated Pressing Device and Ultrasonic Diagnosis Apparatus Using the Device
授权日
1900-01-01
公开(公告)号
US20090306515A1
申请日
2007-03-02
公开(公告)日
2009-12-10
当前申请(专利权)人
HITACHI MEDICAL CORPORATION
发明人
MATSUMURA, TAKESHI | MITAKE, TSUYOSHI | MIYAZAWA, TOMOYUKI
简单同族
JP4981023B2 | JPWO2007100107A1 | US20090306515A1 | US8277382 | WO2007100107A1
简单同族成员数量
5
简单同族被引用专利总数
65
诉讼案件数
0
法律状态/事件
未缴年费 | 权利转移
抱歉,您的浏览器不支持PDF预览,请点击链接下载PDF文件