专利数据库
统计分析
产业报告
专利数据监控
产业人才
行业动态
产业政策法规
维权援助
个人中心
详情
文本
图像
标题
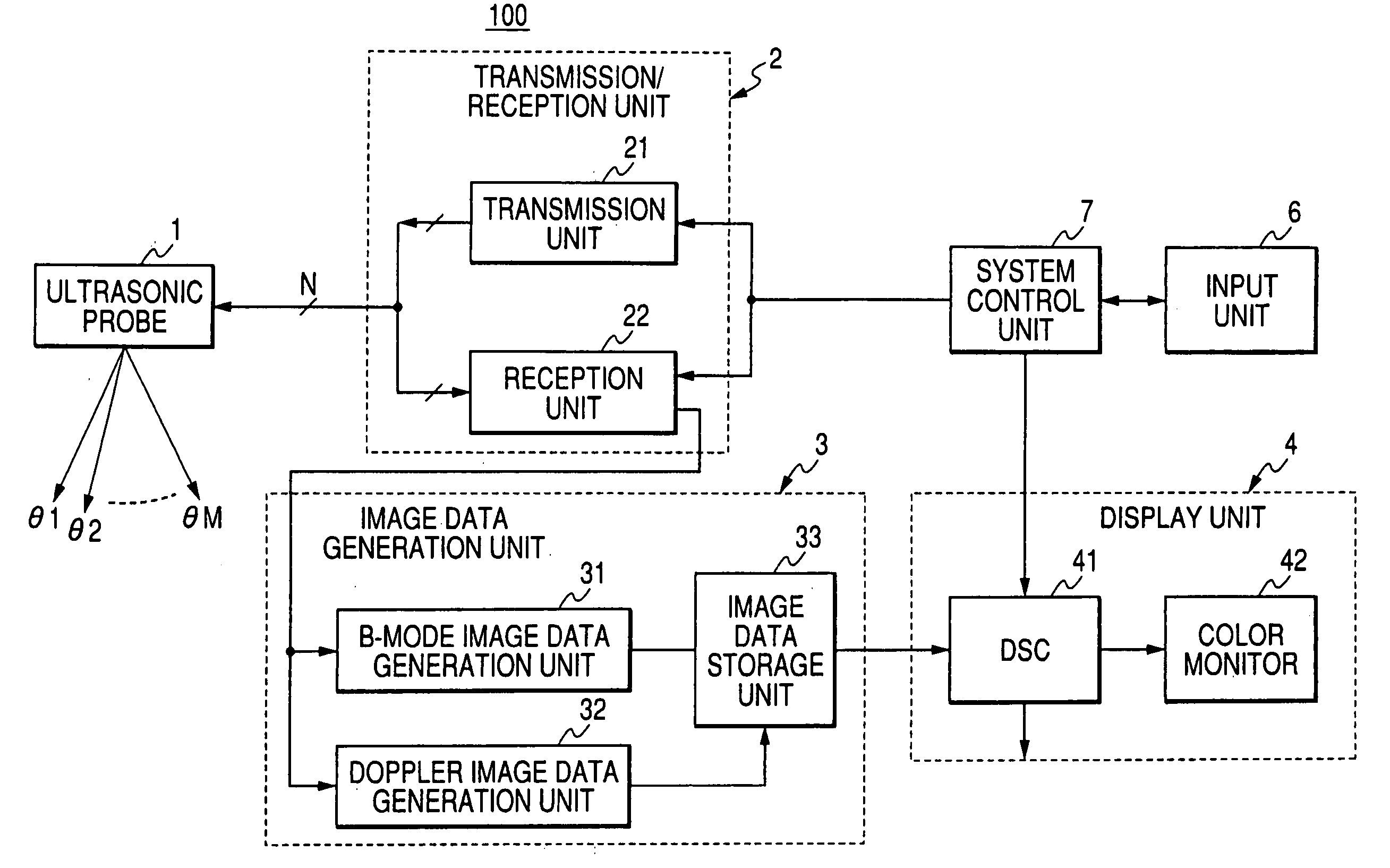
Ultrasonic diagnostic equipment and method of controlling ultrasonic diagnostic equipment
授权日
1900-01-01
公开(公告)号
US20050148875A1
申请日
2004-12-16
公开(公告)日
2005-07-07
当前申请(专利权)人
TOSHIBA MEDICAL SYSTEMS CORPORATION
发明人
SATO, TAKESHI
简单同族
CN100387199C | CN1644168A | EP1548462A1 | EP1548462B1 | JP2005176997A | JP4504004B2 | US20050148875A1 | US7713198
简单同族成员数量
8
简单同族被引用专利总数
55
诉讼案件数
0
法律状态/事件
授权 | 权利转移
抱歉,您的浏览器不支持PDF预览,请点击链接下载PDF文件