专利数据库
统计分析
产业报告
专利数据监控
产业人才
行业动态
产业政策法规
维权援助
个人中心
详情
文本
图像
标题
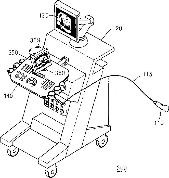
Ultrasound diagnosis apparatus having plurality of display units
授权日
1900-01-01
公开(公告)号
US20150359515A1
申请日
2015-08-24
公开(公告)日
2015-12-17
当前申请(专利权)人
SAMSUNG ELECTRONICS CO., LTD.
发明人
HAN, KI-WOOK
简单同族
CN103222881A | CN103222881B | CN104840216A | CN106236143A | CN106236143B | KR101365242B1 | KR1020130087291A | US20130197364A1 | US20150216505A1 | US20150359515A1
简单同族成员数量
10
简单同族被引用专利总数
49
诉讼案件数
0
法律状态/事件
撤回
抱歉,您的浏览器不支持PDF预览,请点击链接下载PDF文件