专利数据库
统计分析
产业报告
专利数据监控
产业人才
行业动态
产业政策法规
维权援助
个人中心
详情
文本
图像
标题
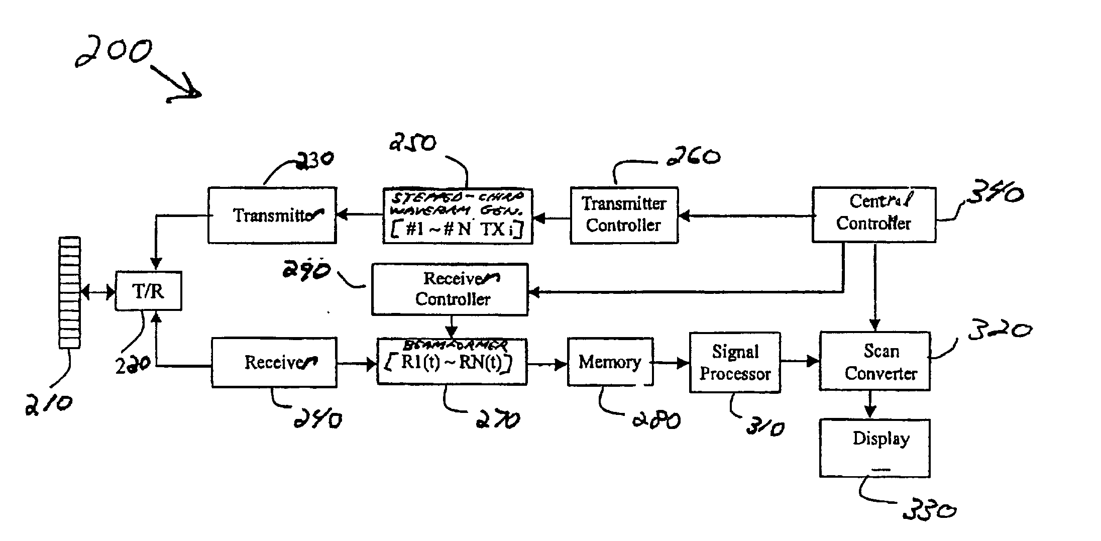
Method and apparatus to enhance ultrasound contrast imaging using stepped-chirp waveforms
授权日
1900-01-01
公开(公告)号
US20040059225A1
申请日
2002-09-24
公开(公告)日
2004-03-25
当前申请(专利权)人
GE MEDICAL SYSTEMS GLOBAL TECHNOLOGY COMPANY, LLC
发明人
HAO, XIAOHUI | PANDA, SATCHI | MILLER, STEVEN C. | CHIAO, RICHARD Y.
简单同族
CN100409812C | CN1494874A | DE60326527D1 | EP1406096A1 | EP1406096B1 | JP2004113788A | JP4667733B2 | US20040059225A1 | US6953434
简单同族成员数量
9
简单同族被引用专利总数
57
诉讼案件数
0
法律状态/事件
授权 | 权利转移
抱歉,您的浏览器不支持PDF预览,请点击链接下载PDF文件