专利数据库
统计分析
产业报告
专利数据监控
产业人才
行业动态
产业政策法规
维权援助
个人中心
详情
文本
图像
标题
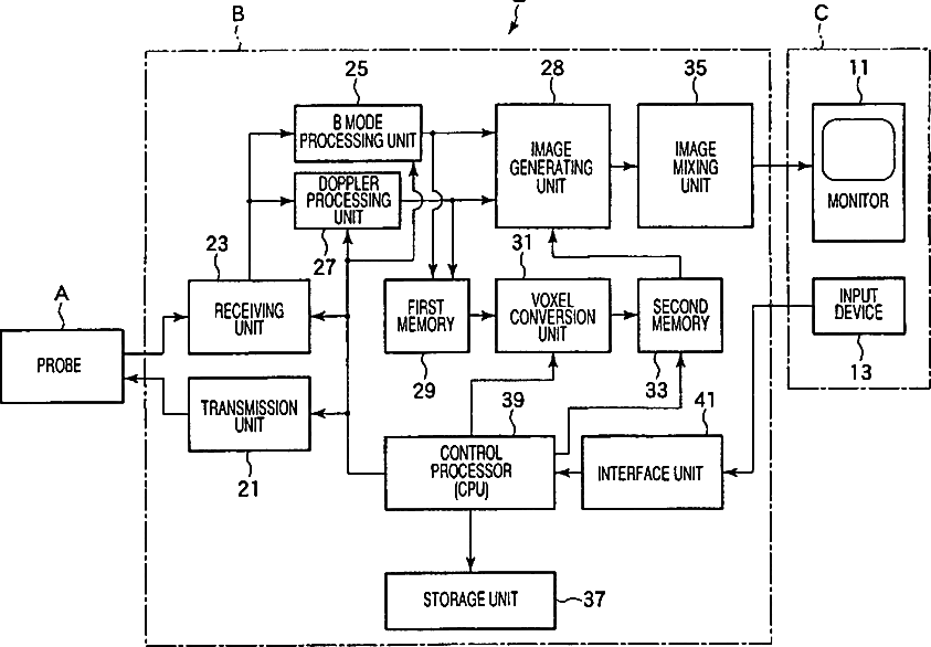
Ultrasonic diagnostic apparatus and control method thereof
授权日
1900-01-01
公开(公告)号
US20080262348A1
申请日
2008-04-21
公开(公告)日
2008-10-23
当前申请(专利权)人
TOSHIBA MEDICAL SYSTEMS CORPORATION
发明人
HASHIMOTO, SHINICHI | KAWAGISHI, TETSUYA | SASAKI, TAKUYA
简单同族
CN101292879A | CN101292879B | JP2008289858A | JP5231840B2 | US20080262348A1 | US9226728
简单同族成员数量
6
简单同族被引用专利总数
23
诉讼案件数
0
法律状态/事件
授权 | 权利转移
抱歉,您的浏览器不支持PDF预览,请点击链接下载PDF文件