专利数据库
统计分析
产业报告
专利数据监控
产业人才
行业动态
产业政策法规
维权援助
个人中心
详情
文本
图像
标题
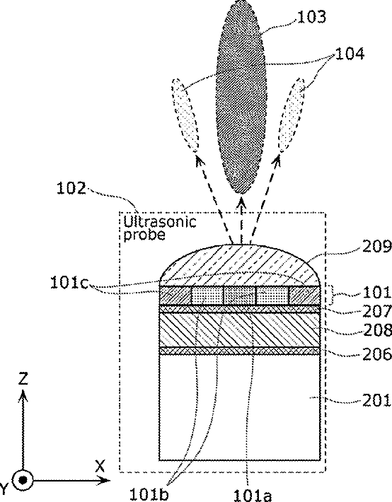
Ultrasonic probe and ultrasonic diagnostic device
授权日
1900-01-01
公开(公告)号
US20130090561A1
申请日
2012-02-13
公开(公告)日
2013-04-11
当前申请(专利权)人
KONICA MINOLTA, INC.
发明人
KUSUKAME, KOICHI | OGURA, TAKASHI | NAGATA, TAKAYUKI
简单同族
CN102959993A | CN102959993B | JP5807206B2 | JPWO2012144117A1 | US20130090561A1 | US9186126 | WO2012144117A1
简单同族成员数量
7
简单同族被引用专利总数
25
诉讼案件数
0
法律状态/事件
授权 | 权利转移
抱歉,您的浏览器不支持PDF预览,请点击链接下载PDF文件