专利数据库
统计分析
产业报告
专利数据监控
产业人才
行业动态
产业政策法规
维权援助
个人中心
详情
文本
图像
标题
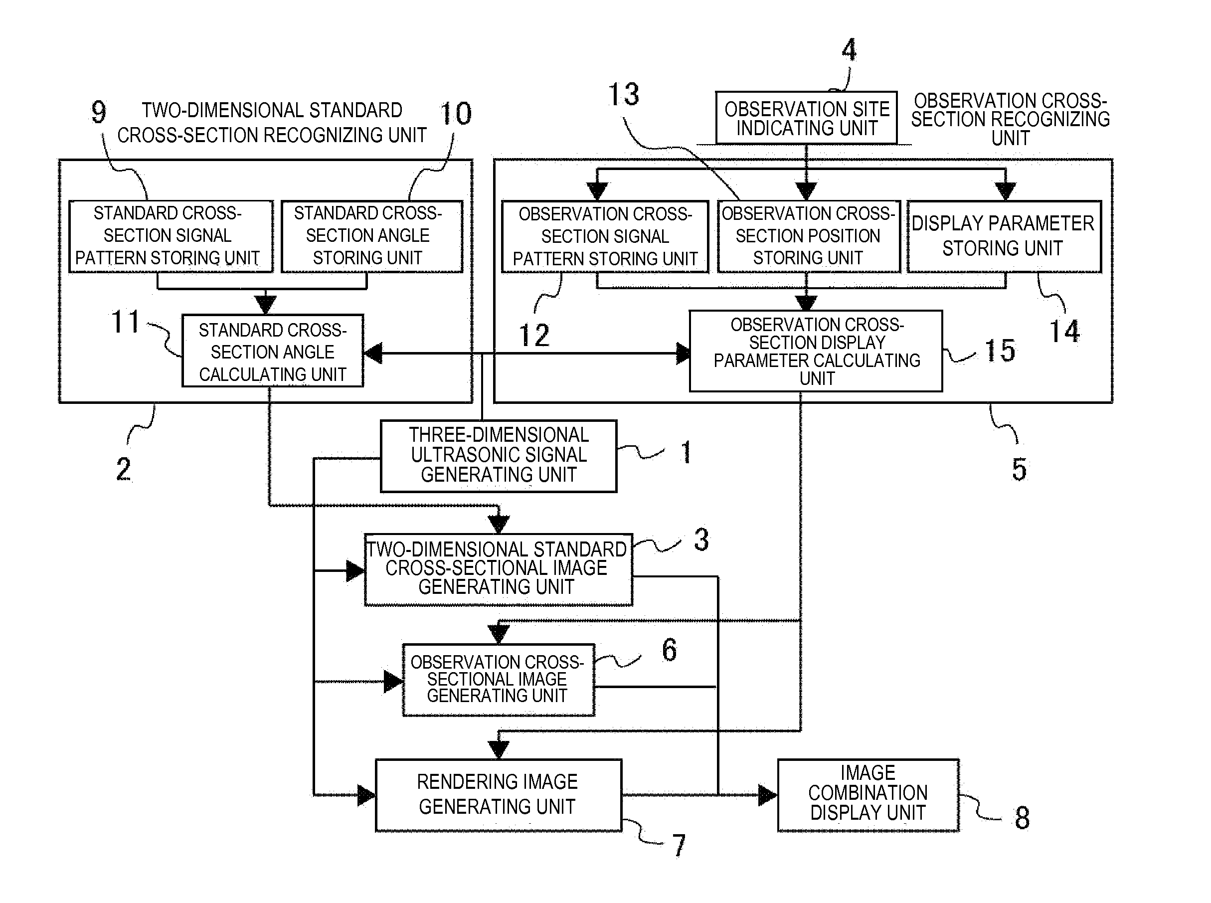
Ultrasonic diagnostic apparatus and image processing apparatus for ultrasonic diagnosis
授权日
1900-01-01
公开(公告)号
US20110178405A1
申请日
2009-10-02
公开(公告)日
2011-07-21
当前申请(专利权)人
HITACHI, LTD.
发明人
CHONO, TOMOAKI
简单同族
JP5491405B2 | JPWO2010038848A1 | JPWO2010038848A5 | US20110178405A1 | US8262572 | WO2010038848A1
简单同族成员数量
6
简单同族被引用专利总数
32
诉讼案件数
0
法律状态/事件
授权 | 权利转移
抱歉,您的浏览器不支持PDF预览,请点击链接下载PDF文件