专利数据库
统计分析
产业报告
专利数据监控
产业人才
行业动态
产业政策法规
维权援助
个人中心
详情
文本
图像
标题
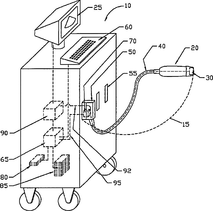
System and method for using an ultrasound transducer with an integrated transducer information system
授权日
2005-01-04
公开(公告)号
US6837853
申请日
2002-06-27
公开(公告)日
2005-01-04
当前申请(专利权)人
SIEMENS MEDICAL SOLUTIONS USA, INC.
发明人
MARIAN, VAUGHN
简单同族
US20040002657A1 | US6837853
简单同族成员数量
2
简单同族被引用专利总数
77
诉讼案件数
0
法律状态/事件
授权 | 权利转移
抱歉,您的浏览器不支持PDF预览,请点击链接下载PDF文件