专利数据库
统计分析
产业报告
专利数据监控
产业人才
行业动态
产业政策法规
维权援助
个人中心
详情
文本
图像
标题
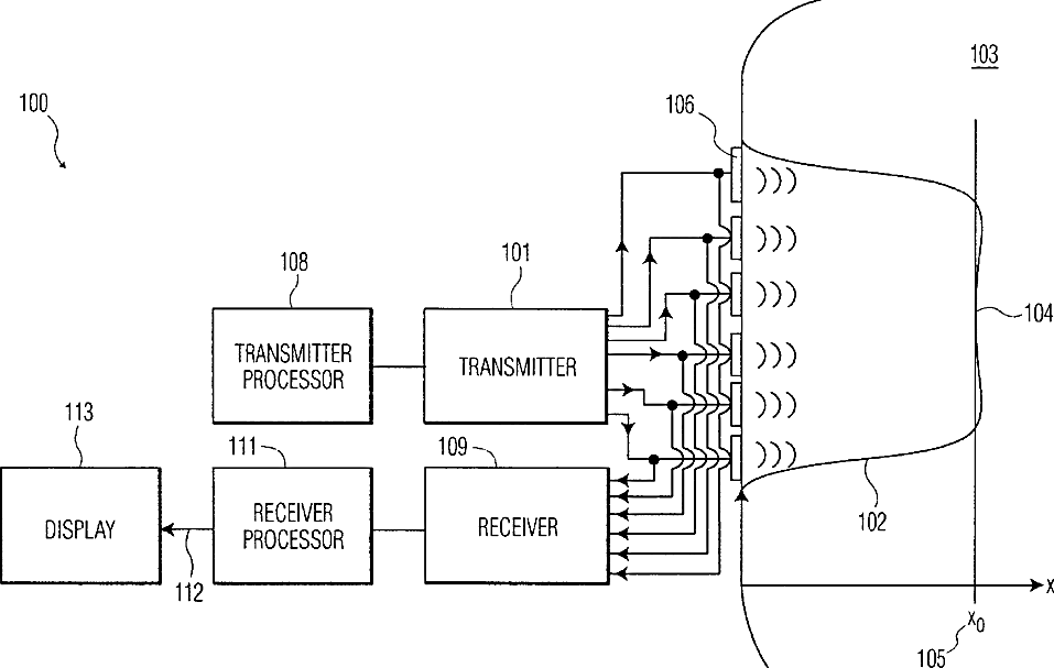
System, method and machine readable program for performing ultrasonic fat beam transmission and multiline receive imaging
授权日
2003-07-01
公开(公告)号
US6585648
申请日
2002-11-15
公开(公告)日
2003-07-01
当前申请(专利权)人
KONINKLIJKE PHILIPS ELECTRONICS, N.V.
发明人
ROBINSON, BRENT STEPHEN
简单同族
AU2003272039A1 | CN1711482A | EP1573357A1 | JP2006506158A | US6585648 | WO2004046751A1
简单同族成员数量
6
简单同族被引用专利总数
35
诉讼案件数
0
法律状态/事件
未缴年费 | 权利转移
抱歉,您的浏览器不支持PDF预览,请点击链接下载PDF文件