专利数据库
统计分析
产业报告
专利数据监控
产业人才
行业动态
产业政策法规
维权援助
个人中心
详情
文本
图像
标题
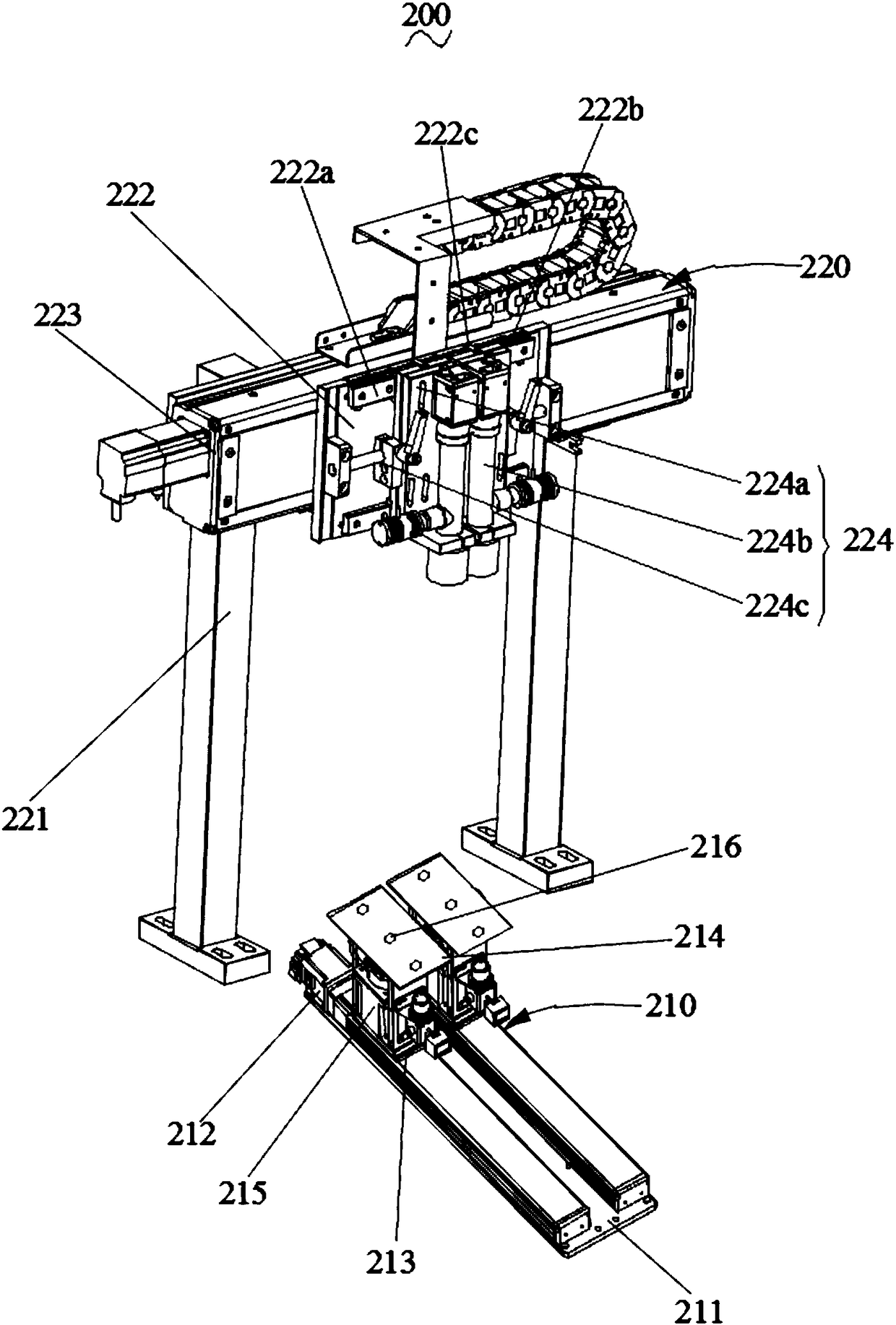
一种用于LCD屏幕检测的纠正定位移送机构
授权日
2018-05-18
公开(公告)号
CN207380388U
申请日
2017-08-25
公开(公告)日
2018-05-18
当前申请(专利权)人
惠州旭鑫智能技术有限公司
发明人
余凌云 | 杨铠康 | 黄竞球 | 张永恒 | 林建锋 | 吴裕峰 | 连泽钦
简单同族
CN207380388U
简单同族成员数量
1
简单同族被引用专利总数
0
诉讼案件数
0
法律状态/事件
授权
抱歉,您的浏览器不支持PDF预览,请点击链接下载PDF文件