专利数据库
统计分析
产业报告
专利数据监控
产业人才
行业动态
产业政策法规
维权援助
个人中心
详情
文本
图像
标题
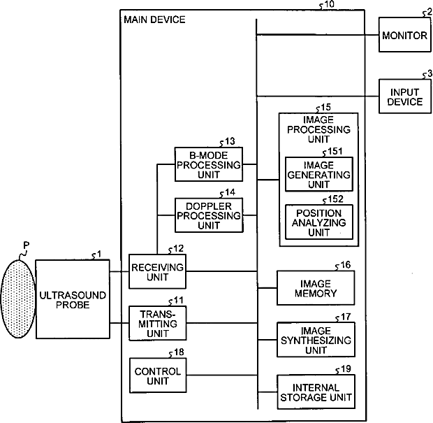
Ultrasonic diagnostic apparatus, positional information acquiring method, and computer program product
授权日
1900-01-01
公开(公告)号
US20150080726A1
申请日
2014-11-24
公开(公告)日
2015-03-19
当前申请(专利权)人
TOSHIBA MEDICAL SYSTEMS CORPORATION
发明人
YAO, CONG | KAMIYAMA, NAOHISA | OKAMURA, YOKO
简单同族
CN101779964A | CN101779964B | JP2010166973A | JP5284123B2 | US20100185092A1 | US20150080726A1 | US8926513
简单同族成员数量
7
简单同族被引用专利总数
24
诉讼案件数
0
法律状态/事件
撤回 | 权利转移
抱歉,您的浏览器不支持PDF预览,请点击链接下载PDF文件