专利数据库
统计分析
产业报告
专利数据监控
产业人才
行业动态
产业政策法规
维权援助
个人中心
详情
文本
图像
标题
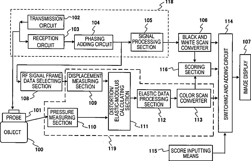
Ultrasonic diagnostic apparatus
授权日
1900-01-01
公开(公告)号
US20070112267A1
申请日
2004-09-09
公开(公告)日
2007-05-17
当前申请(专利权)人
HITACHI, LTD.
发明人
MATSUMURA, TAKESHI | SHINOMURA, RYUICHI | MITAKE, TSUYOSHI | OSHIKI, MITSUHIRO
简单同族
EP1665987A1 | EP1665987A4 | EP1665987B1 | JP4685633B2 | JPWO2005025425A1 | US20070112267A1 | US8118746 | WO2005025425A1
简单同族成员数量
8
简单同族被引用专利总数
53
诉讼案件数
0
法律状态/事件
授权 | 权利转移
抱歉,您的浏览器不支持PDF预览,请点击链接下载PDF文件