专利数据库
统计分析
产业报告
专利数据监控
产业人才
行业动态
产业政策法规
维权援助
个人中心
详情
文本
图像
标题
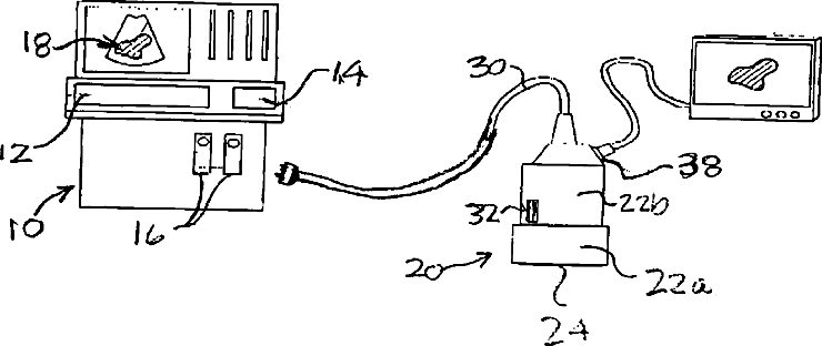
Ultrasonic probe including pointing devices for remotely controlling functions of an associated imaging system
授权日
2003-11-11
公开(公告)号
US6645148
申请日
2001-03-20
公开(公告)日
2003-11-11
当前申请(专利权)人
VERMON
发明人
NGUYEN-DINH, AN | FLESCH, AIME
简单同族
US20020138007A1 | US6645148
简单同族成员数量
2
简单同族被引用专利总数
99
诉讼案件数
0
法律状态/事件
授权 | 权利转移
抱歉,您的浏览器不支持PDF预览,请点击链接下载PDF文件