专利数据库
统计分析
产业报告
专利数据监控
产业人才
行业动态
产业政策法规
维权援助
个人中心
详情
文本
图像
标题
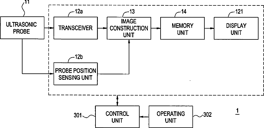
Ultrasonic image construction method and diagnostic ultrasound apparatus
授权日
1900-01-01
公开(公告)号
US20060241434A1
申请日
2006-03-14
公开(公告)日
2006-10-26
当前申请(专利权)人
GE MEDICAL SYSTEMS GLOBAL TECHNOLOGY COMPANY, LLC
发明人
SHIMAZAKI, TADASHI
简单同族
CN1836635A | JP2006255083A | KR1020060100283A | US20060241434A1
简单同族成员数量
4
简单同族被引用专利总数
39
诉讼案件数
0
法律状态/事件
撤回 | 权利转移
抱歉,您的浏览器不支持PDF预览,请点击链接下载PDF文件