专利数据库
统计分析
产业报告
专利数据监控
产业人才
行业动态
产业政策法规
维权援助
个人中心
详情
文本
图像
标题
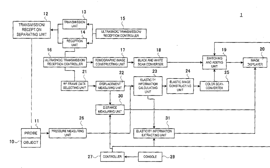
Ultrasonic diagnostic apparatus
授权日
1900-01-01
公开(公告)号
US20100268084A1
申请日
2008-10-24
公开(公告)日
2010-10-21
当前申请(专利权)人
HITACHI MEDICAL CORPORATION
发明人
OSAKA, TAKASHI | TONOMURA, AKIKO
简单同族
JP5322945B2 | JPWO2009060732A1 | JPWO2009060732A5 | US20100268084A1 | WO2009060732A1
简单同族成员数量
5
简单同族被引用专利总数
19
诉讼案件数
0
法律状态/事件
撤回 | 权利转移
抱歉,您的浏览器不支持PDF预览,请点击链接下载PDF文件