专利数据库
统计分析
产业报告
专利数据监控
产业人才
行业动态
产业政策法规
维权援助
个人中心
详情
文本
图像
标题
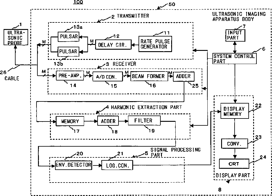
Ultrasonic imaging apparatus and method
授权日
1900-01-01
公开(公告)号
US20040133106A1
申请日
2003-10-10
公开(公告)日
2004-07-08
当前申请(专利权)人
TOSHIBA MEDICAL SYSTEMS CORPORATION
发明人
KAKEE, AKIHIRO | HIRAMA, MAKOTO | KAWAGISHI, TETSUYA | IMAMURA, TOMOHISA
简单同族
CN1515229A | CN1515229B | JP2004181209A | JP4405182B2 | US20040133106A1 | US7666139
简单同族成员数量
6
简单同族被引用专利总数
32
诉讼案件数
0
法律状态/事件
授权 | 权利转移
抱歉,您的浏览器不支持PDF预览,请点击链接下载PDF文件