专利数据库
统计分析
产业报告
专利数据监控
产业人才
行业动态
产业政策法规
维权援助
个人中心
详情
文本
图像
标题
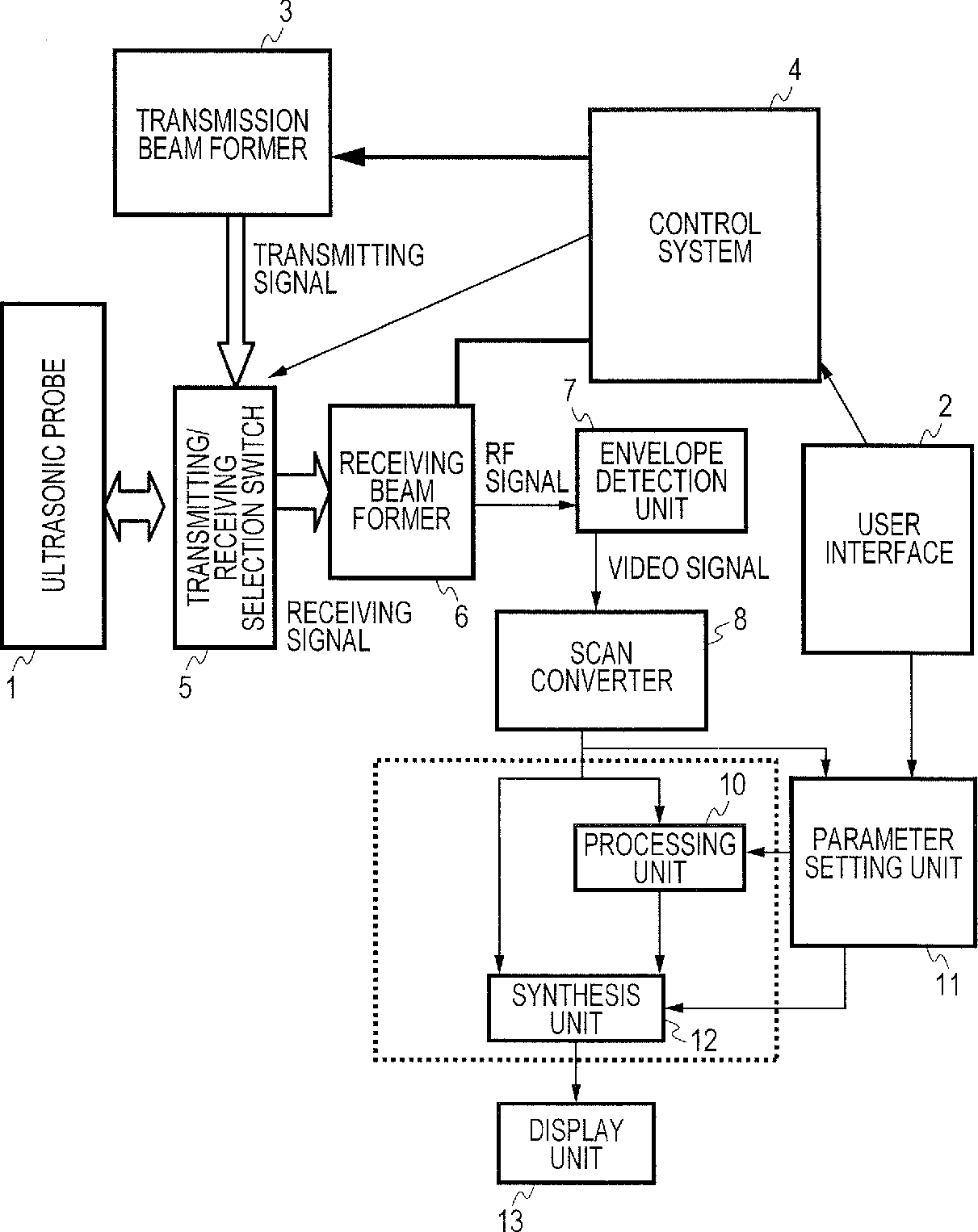
Ultrasonic image processing method and device, and ultrasonic image processing program
授权日
1900-01-01
公开(公告)号
US20110218439A1
申请日
2009-10-29
公开(公告)日
2011-09-08
当前申请(专利权)人
HITACHI, LTD.
发明人
MASUI, HIRONARI | AZUMA, TAKASHI
简单同族
CN102202580A | CN102202580B | EP2347716A1 | EP2347716A4 | EP2347716B1 | JP5389814B2 | JPWO2010052868A1 | US20110218439A1 | US9119557 | WO2010052868A1
简单同族成员数量
10
简单同族被引用专利总数
25
诉讼案件数
0
法律状态/事件
授权 | 权利转移
抱歉,您的浏览器不支持PDF预览,请点击链接下载PDF文件