专利数据库
统计分析
产业报告
专利数据监控
产业人才
行业动态
产业政策法规
维权援助
个人中心
详情
文本
图像
标题
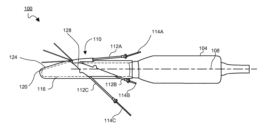
Ultrasonic probe and aligned needle guide system
授权日
1900-01-01
公开(公告)号
US20170252005A1
申请日
2017-05-22
公开(公告)日
2017-09-07
当前申请(专利权)人
FUJIFILM SONOSITE, INC.
发明人
CHAGGARES, N. CHRIS | RIEDER, ERIC MICHAEL
简单同族
CA2878789A1 | CA2878789C | CN104918555A | CN104918555B | EP2872045A2 | EP2872045A4 | EP2872045B1 | HK1214937A | HK1214937A1 | JP2015521932A | JP2015521932A5 | JP2017205660A | JP2018061862A | JP6315739B2 | JP6657273B2 | US10130338 | US20140018667A1 | US20160038118A1 | US20170252005A1 | US20180125453A1 | US9113825 | US9655591 | WO2014009810A2 | WO2014009810A3
简单同族成员数量
24
简单同族被引用专利总数
23
诉讼案件数
0
法律状态/事件
撤回 | 权利转移
抱歉,您的浏览器不支持PDF预览,请点击链接下载PDF文件