专利数据库
统计分析
产业报告
专利数据监控
产业人才
行业动态
产业政策法规
维权援助
个人中心
详情
文本
图像
标题
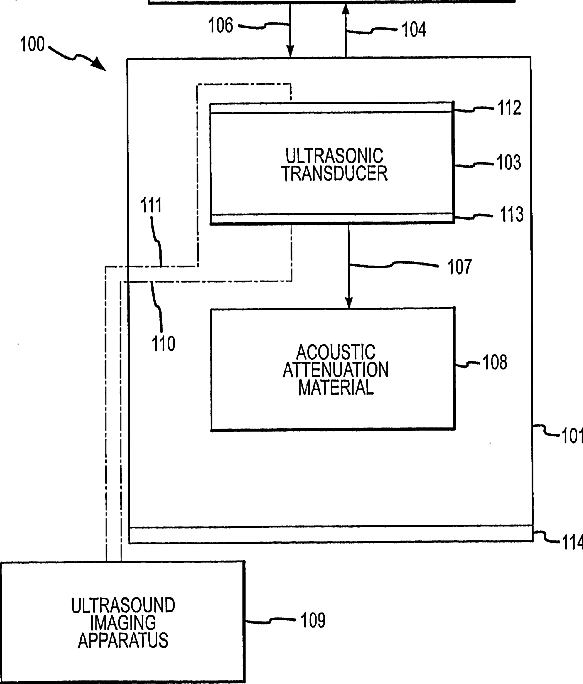
Ultrasonic Attenuation Materials
授权日
1900-01-01
公开(公告)号
US20080242984A1
申请日
2007-03-30
公开(公告)日
2008-10-02
当前申请(专利权)人
W. L. GORE & ASSOCIATES, INC.
发明人
OAKLEY, CLYDE GERALD | SHEPARD, MICHAEL J. | ZIPPARO, MICHAEL J. | SCHOLZ, HERMANN
简单同族
US20080242984A1 | US7808157
简单同族成员数量
2
简单同族被引用专利总数
31
诉讼案件数
0
法律状态/事件
授权 | 权利转移
抱歉,您的浏览器不支持PDF预览,请点击链接下载PDF文件