专利数据库
统计分析
产业报告
专利数据监控
产业人才
行业动态
产业政策法规
维权援助
个人中心
详情
文本
图像
标题
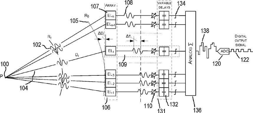
Analog store digital read ultrasound beamforming system and method
授权日
1900-01-01
公开(公告)号
US20160011305A1
申请日
2014-02-12
公开(公告)日
2016-01-14
当前申请(专利权)人
URS-US MEDICAL TECHNOLOGY INC.
发明人
KOPTENKO, SERGEI, V.
简单同族
US20160011305A1 | US20180088219A1 | US9739875 | WO2014125371A1
简单同族成员数量
4
简单同族被引用专利总数
20
诉讼案件数
0
法律状态/事件
授权
抱歉,您的浏览器不支持PDF预览,请点击链接下载PDF文件