专利数据库
统计分析
产业报告
专利数据监控
产业人才
行业动态
产业政策法规
维权援助
个人中心
详情
文本
图像
标题
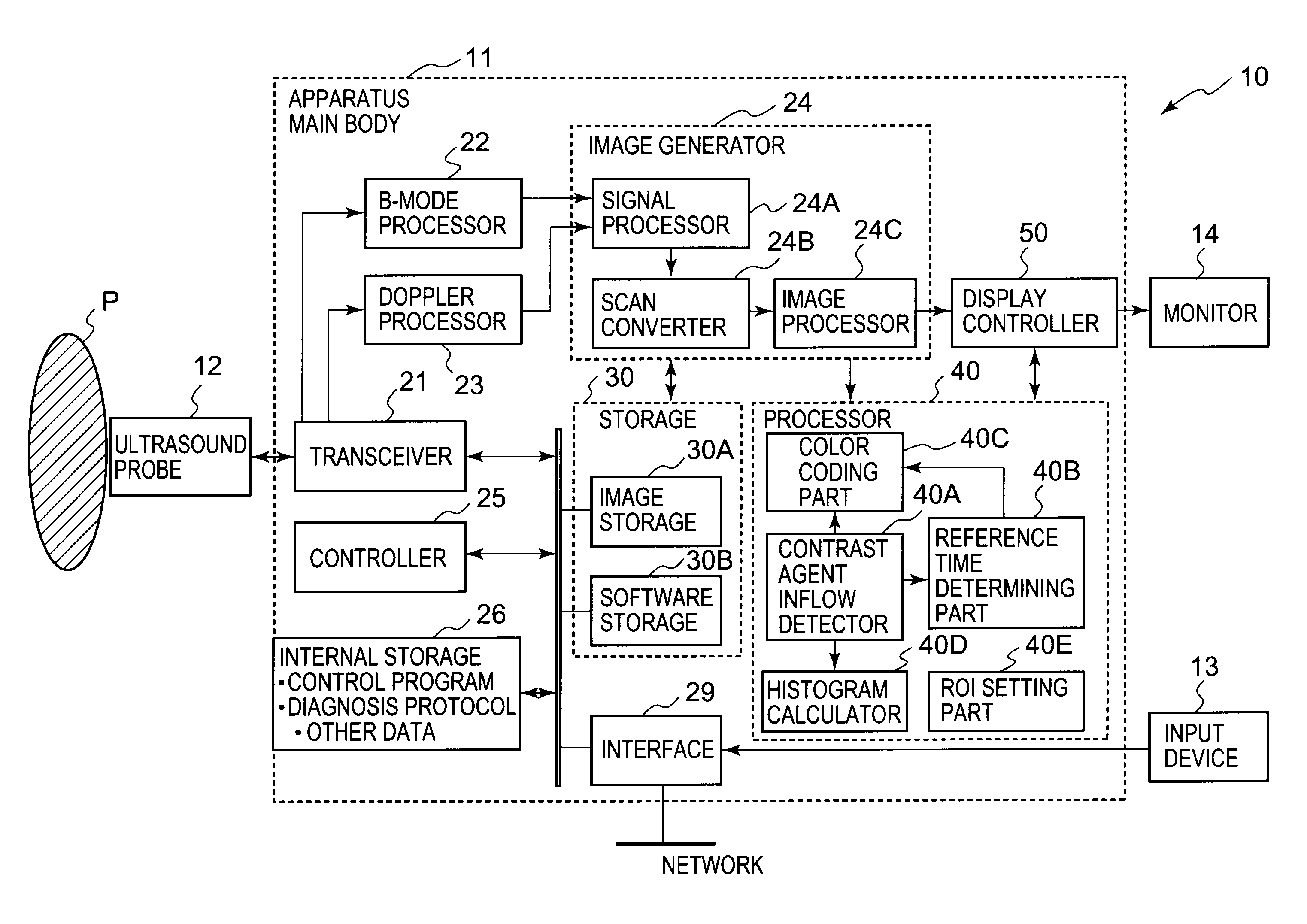
Ultrasound imaging apparatus, medical image processing apparatus, display apparatus, and display method
授权日
1900-01-01
公开(公告)号
US20100094133A1
申请日
2009-10-07
公开(公告)日
2010-04-15
当前申请(专利权)人
TOSHIBA MEDICAL SYSTEMS CORPORATION
发明人
YOSHIARA, HIROKI | KAMIYAMA, NAOHISA | YOSHIDA, TETSUYA
简单同族
CN101721226A | CN101721226B | JP2010094220A | JP5395396B2 | US20100094133A1 | US8460192
简单同族成员数量
6
简单同族被引用专利总数
60
诉讼案件数
0
法律状态/事件
授权 | 权利转移
抱歉,您的浏览器不支持PDF预览,请点击链接下载PDF文件