专利数据库
统计分析
产业报告
专利数据监控
产业人才
行业动态
产业政策法规
维权援助
个人中心
详情
文本
图像
标题
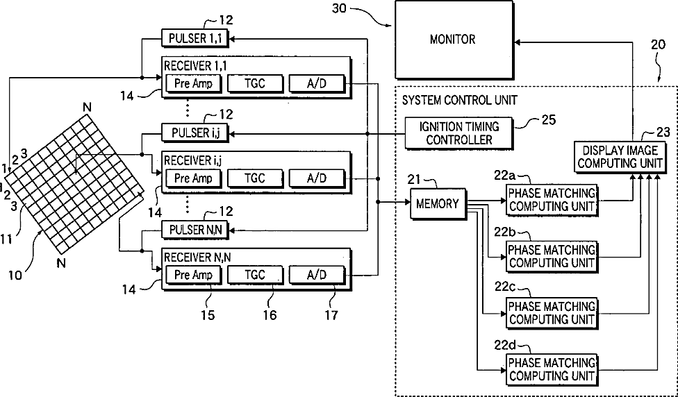
Ultrasonic imaging method and ultrasonic imaging apparatus
授权日
1900-01-01
公开(公告)号
US20040102704A1
申请日
2003-11-06
公开(公告)日
2004-05-27
当前申请(专利权)人
FUJIFILM CORPORATION
发明人
TSUJITA, KAZUHIRO | SATOH, TOMOO
简单同族
US20040102704A1 | US7331234
简单同族成员数量
2
简单同族被引用专利总数
23
诉讼案件数
0
法律状态/事件
未缴年费 | 权利转移
抱歉,您的浏览器不支持PDF预览,请点击链接下载PDF文件