专利数据库
统计分析
产业报告
专利数据监控
产业人才
行业动态
产业政策法规
维权援助
个人中心
详情
文本
图像
标题
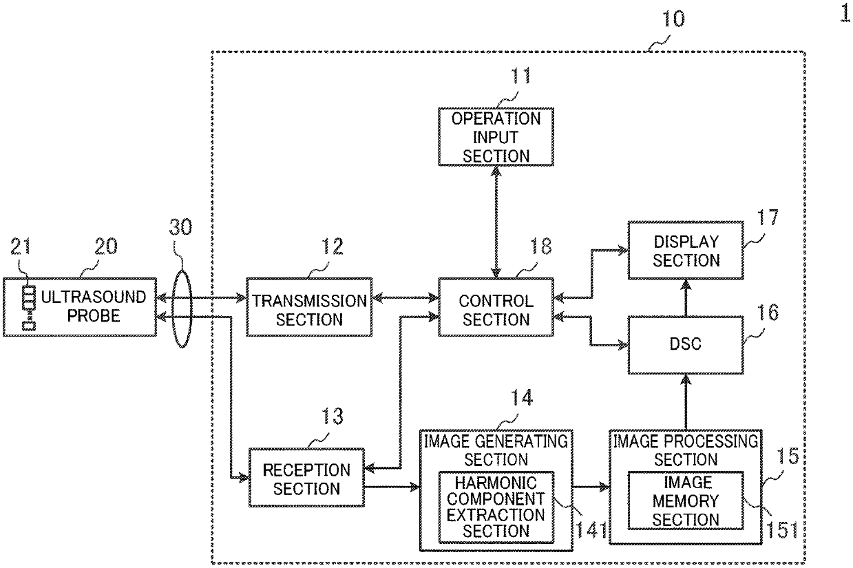
Ultrasound diagnostic apparatus and ultrasound image generating method
授权日
1900-01-01
公开(公告)号
US20200163653A1
申请日
2019-10-30
公开(公告)日
2020-05-28
当前申请(专利权)人
KONICA MINOLTA, INC.
发明人
TANIGUCHI, TETSUYA
简单同族
JP2020081322A | US20200163653A1
简单同族成员数量
2
简单同族被引用专利总数
0
诉讼案件数
0
法律状态/事件
实质审查 | 权利转移
抱歉,您的浏览器不支持PDF预览,请点击链接下载PDF文件