专利数据库
统计分析
产业报告
专利数据监控
产业人才
行业动态
产业政策法规
维权援助
个人中心
详情
文本
图像
标题
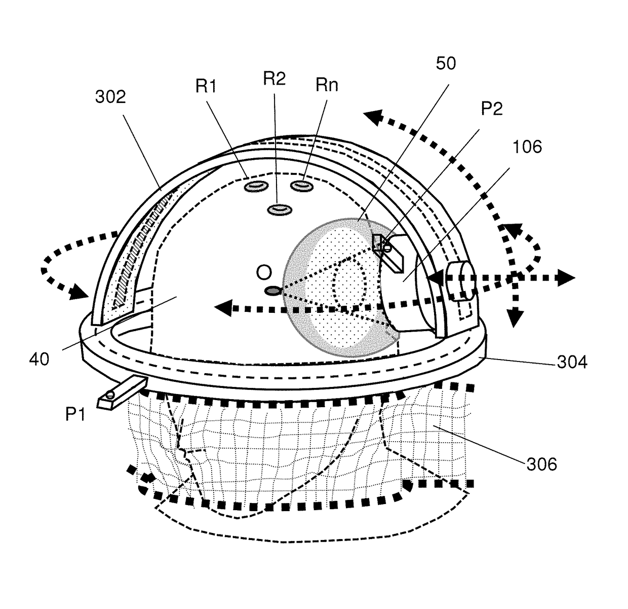
Focused ultrasound guiding system and method thereof
授权日
2019-01-01
公开(公告)号
US10166410
申请日
2013-02-27
公开(公告)日
2019-01-01
当前申请(专利权)人
CHANG GUNG UNIVERSITY
发明人
LIU, HAO-LI | TSAI, HONG-CHIEH | LU, YU-JEN | WEI, KUO-CHEN
简单同族
AU2013271506A1 | AU2013271506B2 | CA2876129A1 | CA2876129C | CN103479403A | CN103479403B | DK2858619T3 | EP2858619A1 | EP2858619A4 | EP2858619B1 | ES2709032T3 | HRP20190145T1 | IL236117A | IL236117D0 | IN2882KOLNP2014A | JP2015521490A | JP6188036B2 | KR101851243B1 | KR1020150055613A | PL2858619T3 | PT2858619T | TR201901270T4 | US10166410 | US20130331685A1 | WO2013184993A1
简单同族成员数量
25
简单同族被引用专利总数
18
诉讼案件数
0
法律状态/事件
授权 | 权利转移
抱歉,您的浏览器不支持PDF预览,请点击链接下载PDF文件