专利数据库
统计分析
产业报告
专利数据监控
产业人才
行业动态
产业政策法规
维权援助
个人中心
详情
文本
图像
标题
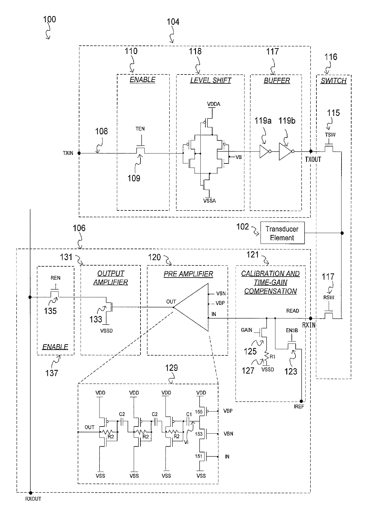
Ultrasound sensor element, ultrasound sensor array assembly, ultrasound transmit sensor element, imaging device, ultrasound transducer, and method of performing an ultrasound scan
授权日
2019-11-19
公开(公告)号
US10478154
申请日
2014-03-07
公开(公告)日
2019-11-19
当前申请(专利权)人
SHARP KABUSHIKI KAISHA
发明人
BROWN, CHRISTOPHER JAMES | PRIOR-JONES, MICHAEL ROBERT | HADWEN, BENJAMIN JAMES
简单同族
EP2964097A1 | EP2964097A4 | GB201304149D0 | GB2511556A | US10478154 | US20150374335A1 | WO2014136461A1
简单同族成员数量
7
简单同族被引用专利总数
18
诉讼案件数
0
法律状态/事件
授权
抱歉,您的浏览器不支持PDF预览,请点击链接下载PDF文件